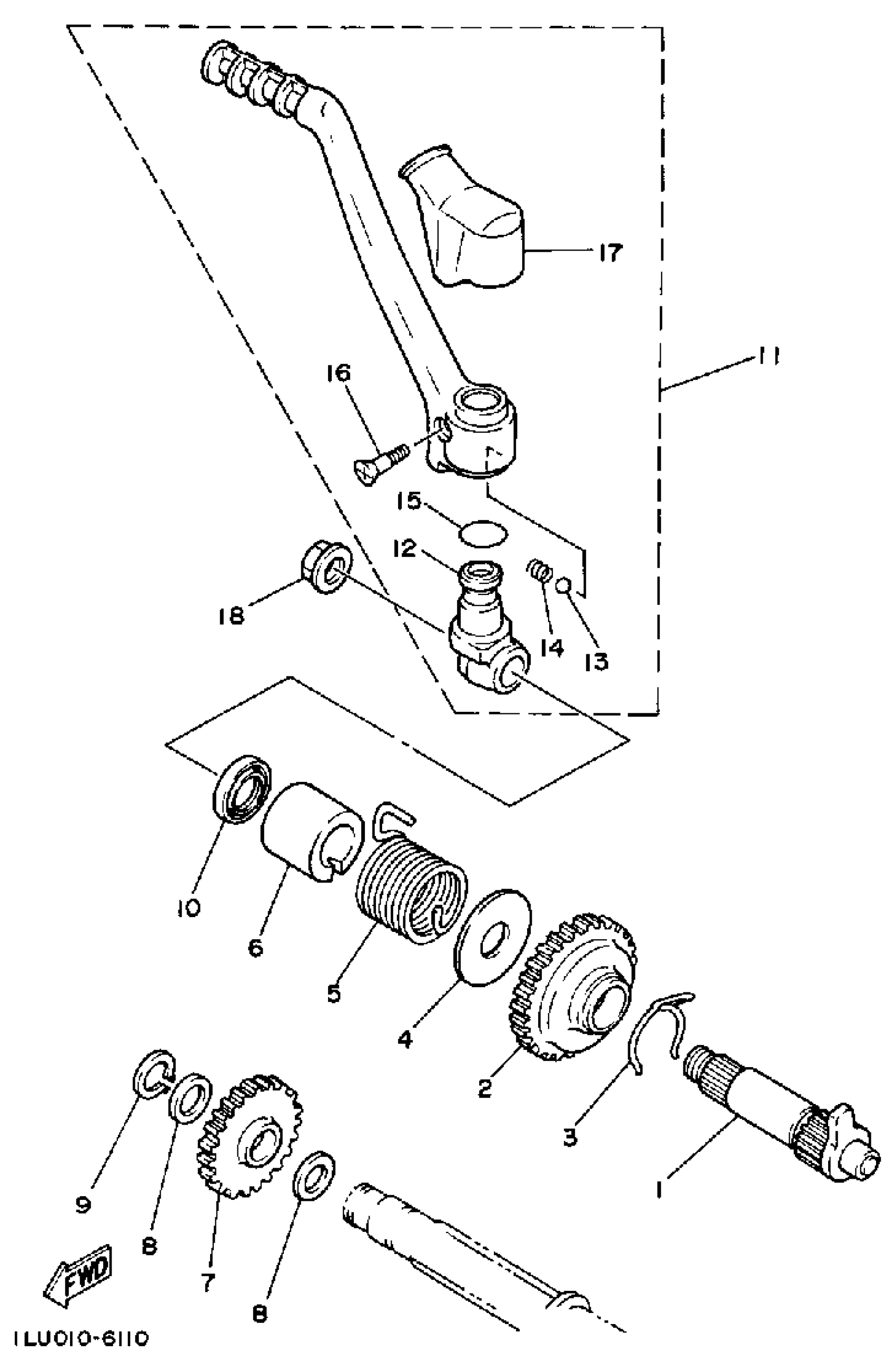
Yamaha YZ250T (YZ250T) 1987 STARTER Diagram
#
Description
Price
1
AXLE, KICK
56A-15661-01-00
Unavailable
2
GEAR, KICK
3R4-15641-00-00
Unavailable
4
WASHER, PLATE
90201-20358-00
Unavailable
6
GUIDE, SPRING
3R4-15664-00-00
Unavailable
7
GEAR, KICK IDLE
3R4-15651-00-00
Unavailable
11
KICK,CRK ASY
4GG-15620-01-00
Unavailable
12
BOSS,KICK CRANK
38V-15621-00-00
Unavailable
15
O-RING
93210-19216-00
Unavailable
16
SCREW, COUNTERSUNK (5Y1)
90152-06010-00
Unavailable
17
. COVER, KICK LEVER
24Y-15618-00-00
Unavailable
18
NUT(1EE)
90179-12659-00
Unavailable
