Partiron

Yamaha YZ250T (YZ250T) 1987 SHIFT SHAFT Diagram

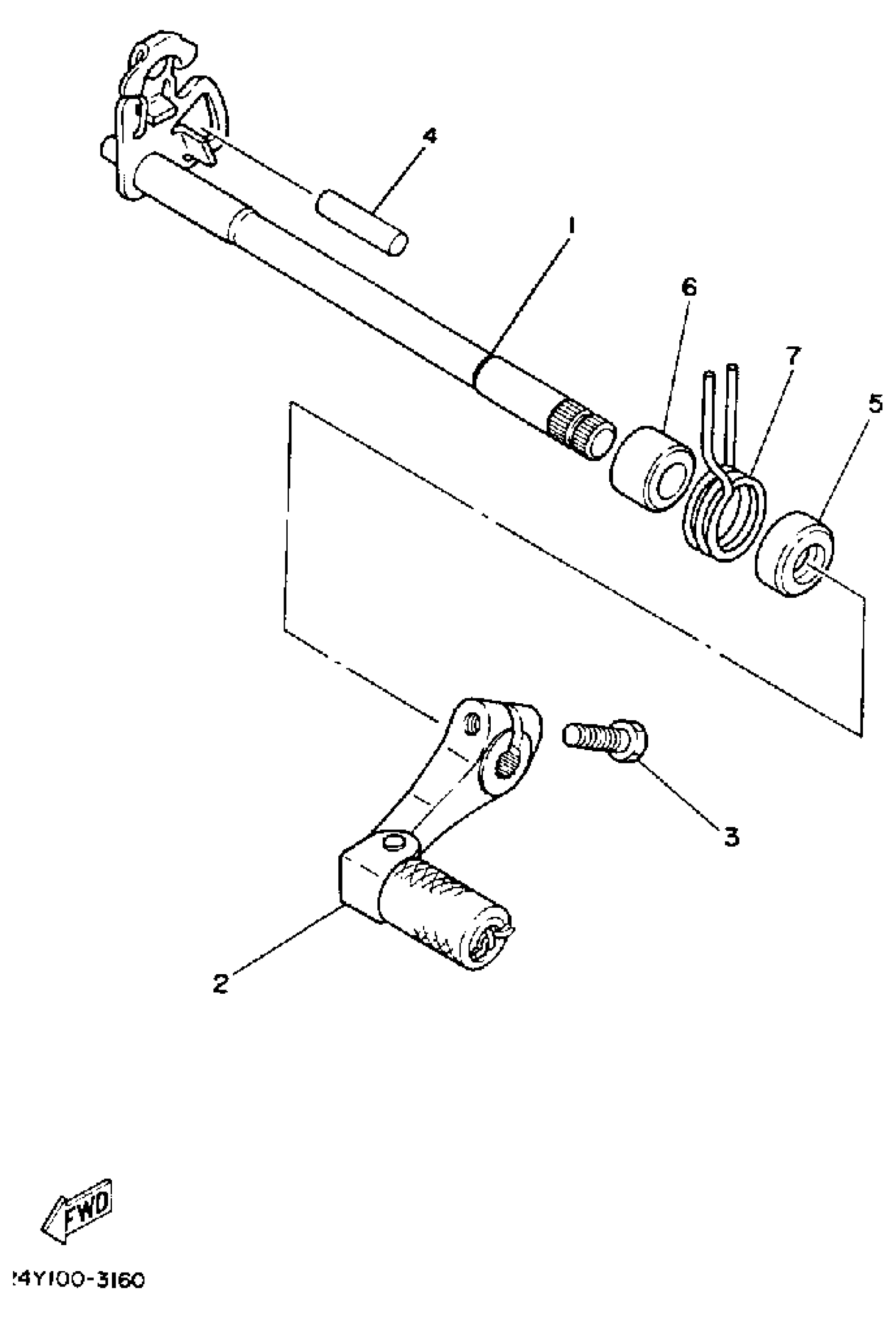
#

Description
Price

1

SHIFT SHAFT ASSY

38W-18101-02-00

$57.99

2

SHIFT PEDAL ASSY

23X-18110-01-00

Unavailable

3

BOLT, HEXAGON

97017-06025-00

$4.24

4

PIN, DOWEL

93608-25150-00

Unavailable

5

SEAL, OIL (30X)

93102-12321-00

$12.49

6

SPACER

90560-12171-00

Unavailable

7

SPRING, TORSION

90508-29361-00

Unavailable