- Partiron
- OEM Parts
- Yamaha
- motorcycle
- 1986
- YZ250S (YZ250) 1LU 1986
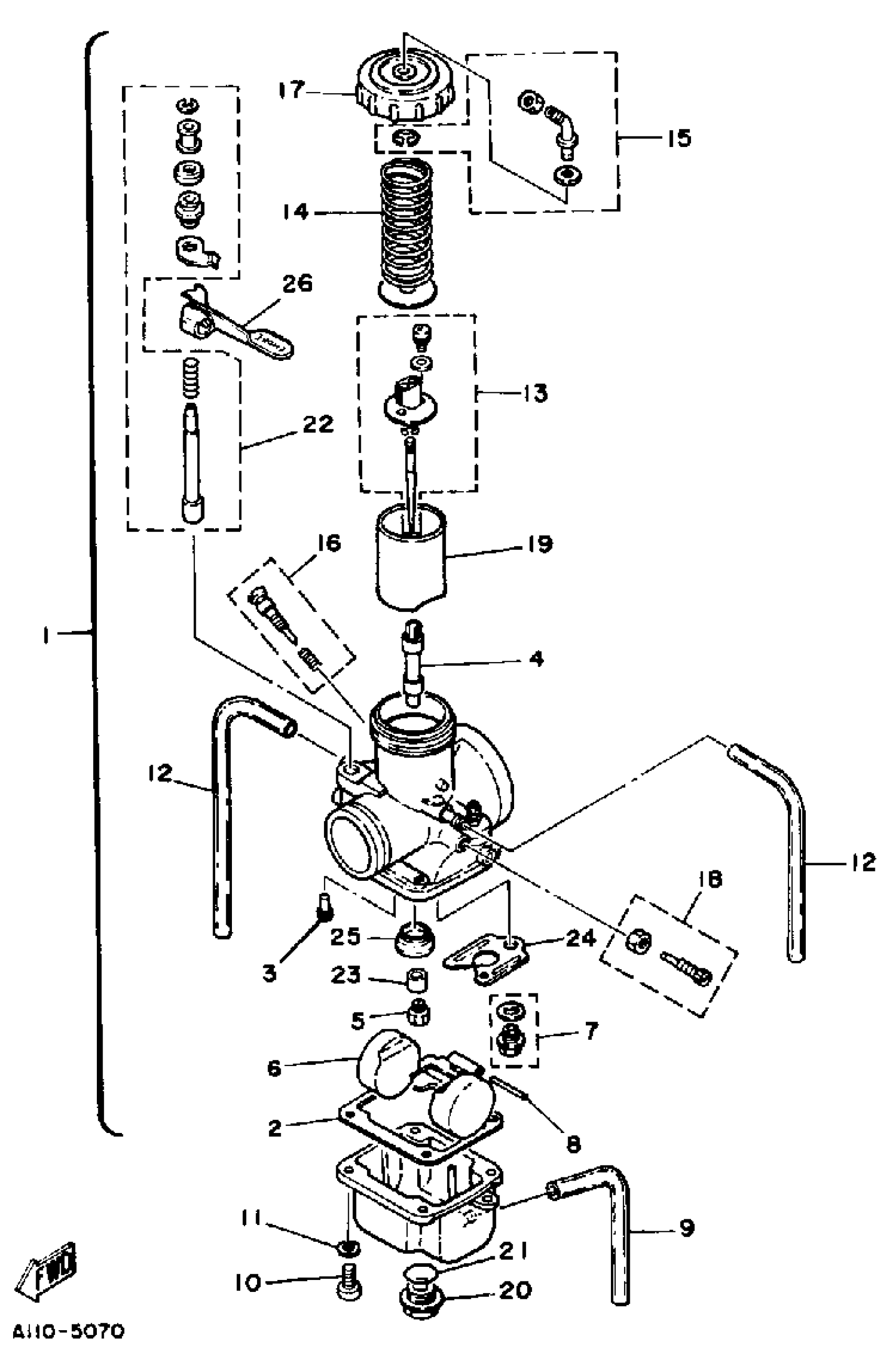
CARBURETOR
Yamaha YZ250S (YZ250) 1LU 1986 CARBURETOR Diagram
#
1
CARBURETOR ASSEMBLY 1
1LU-14101-00-00
Unavailable
3
. JET, PILOT #40
193-14142-40-A1
Unavailable
3
. JET, PILOT (#45)
193-14142-45-A1
Unavailable
4
. NOZZLE, MAIN
510-14141-52-00
Unavailable
4
. NOZZLE, MAIN
510-14141-54-00
Unavailable
4
. NOZZLE, MAIN
510-14141-56-00
Unavailable
5
JET, MAIN #320
137-14143-64-00
Unavailable
5
JET, MAIN #330
137-14143-66-A1
Unavailable
8
PIN, FLOAT
537-14186-00-00
Unavailable
9
HOSE
88R-14987-00-00
Unavailable
10
SCREW, PAN HEAD(6B0)
97885-05016-00
Unavailable
11
YBS67-5 WASHER, SPRING
92990-05100-00
Unavailable
12
HOSE
89A-14987-00-00
Unavailable
13
. NEEDLE SET
23X-1490J-00-00
Unavailable
14
. SPRING, THROTTLE VALVE
431-14131-00-00
Unavailable
15
. CABLE ADJUST SCREW SET
23X-14106-00-00
Unavailable
16
AIR SCREW SET
23X-14104-00-00
Unavailable
17
. TOP, MIXING CHAMBER
5Y9-14158-00-00
Unavailable
18
THROTTLE SCREW SET
23X-14103-00-00
Unavailable
19
. VALVE, THROTTLE 1
2X8-14112-25-00
Unavailable
19
. VALVE, THROTTLE 1
2X8-14112-30-00
Unavailable
19
. VALVE, THROTTLE 1
2X8-14112-35-00
Unavailable
20
. PLUG, SCREW
510-14115-00-00
Unavailable
21
O-RING (541)
558-14147-00-00
Unavailable
22
. STARTER SET
26A-1410A-00-00
Unavailable
23
. WASHER, MAIN JET
5X5-14153-00-00
Unavailable
24
. PLATE
3R4-14146-00-00
Unavailable
25
. SETTER, NEEDLE JET
509-14145-00-00
Unavailable
26
. COVER, PLUNGER CAP (1W3-14173-00-00)
1W3-14175-00-00
Unavailable
