- Partiron
- OEM Parts
- Yamaha
- motorcycle
- 2024
- YZ250RSE (YZ250 50TH) BCRK 2024
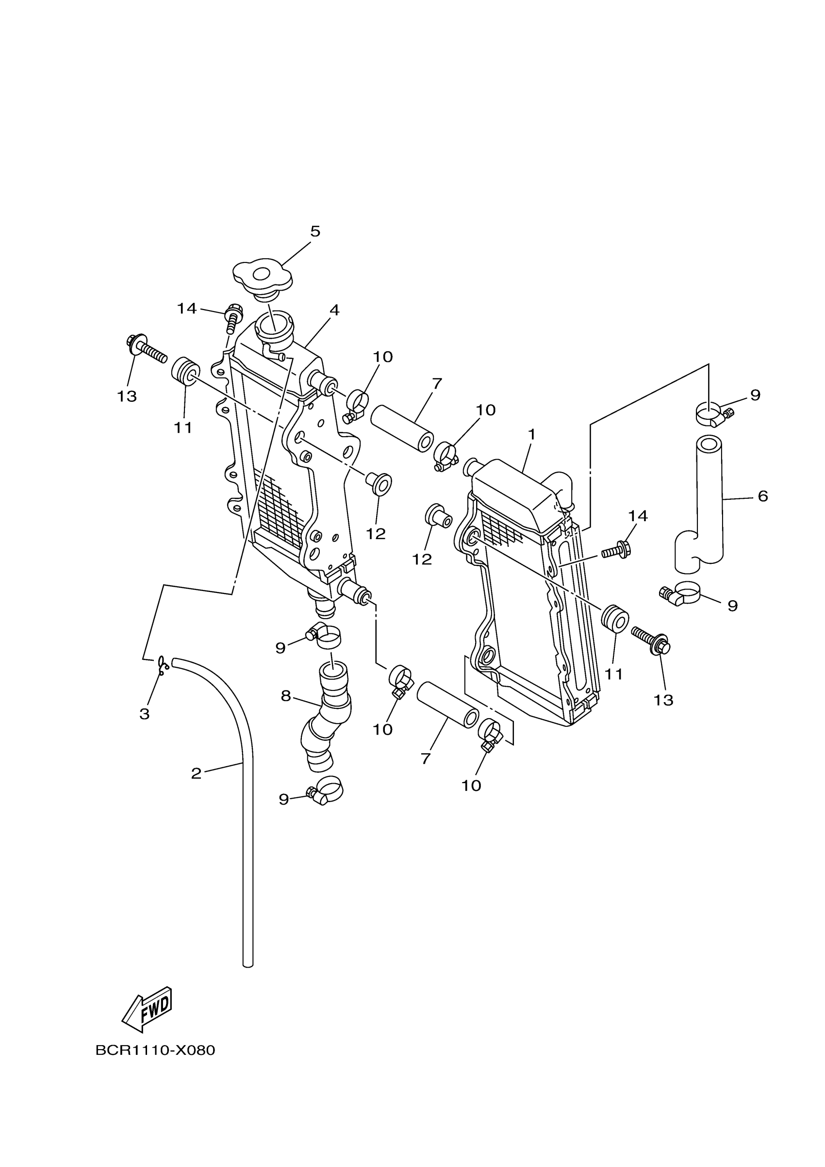
RADIATOR & HOSE
Yamaha YZ250RSE (YZ250 50TH) BCRK 2024 RADIATOR & HOSE Diagram
#
Description
Price
RADIATOR & HOSE
#
Edit ride
