- Partiron
- OEM Parts
- Yamaha
- motorcycle
- 2023
- YZ250P2ME (YZ250 MONSTER) BCRC 2023
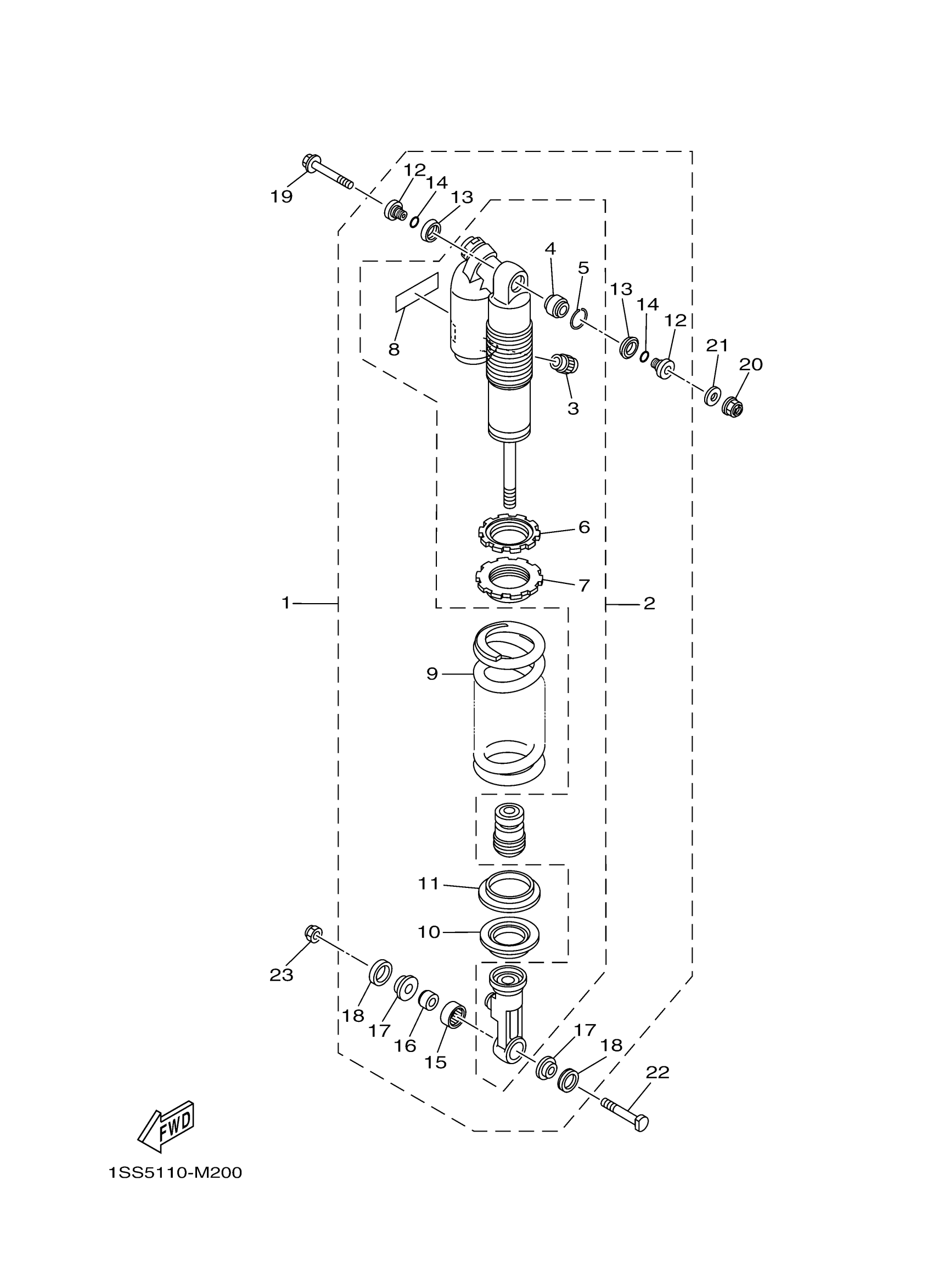
REAR SUSPENSION
Yamaha YZ250P2ME (YZ250 MONSTER) BCRC 2023 REAR SUSPENSION Diagram
#
Description
Price
2
DAMPER SUB ASSY
BCR-22201-00-00
Unavailable
16
BUSH
5MV-22184-00-00
Unavailable
17
COLLAR, DISTANCE
1C3-22253-L1-00
Unavailable
18
SEAL, DUST
5NY-22475-00-00
Unavailable
19
BOLT 2
5XE-22242-01-00
Unavailable
20
NUT, S/L FLANGE
95602-10200-00
Unavailable
21
958-69527-00 WASHER, PLAIN
92990-10200-00
Unavailable
22
BOLT 1
5NY-22241-00-00
Unavailable
23
NUT, SELF-LOCKING
90185-10012-00
Unavailable
