- Partiron
- OEM Parts
- Yamaha
- motorcycle
- 2023
- YZ250P2ME (YZ250 MONSTER) BCRC 2023
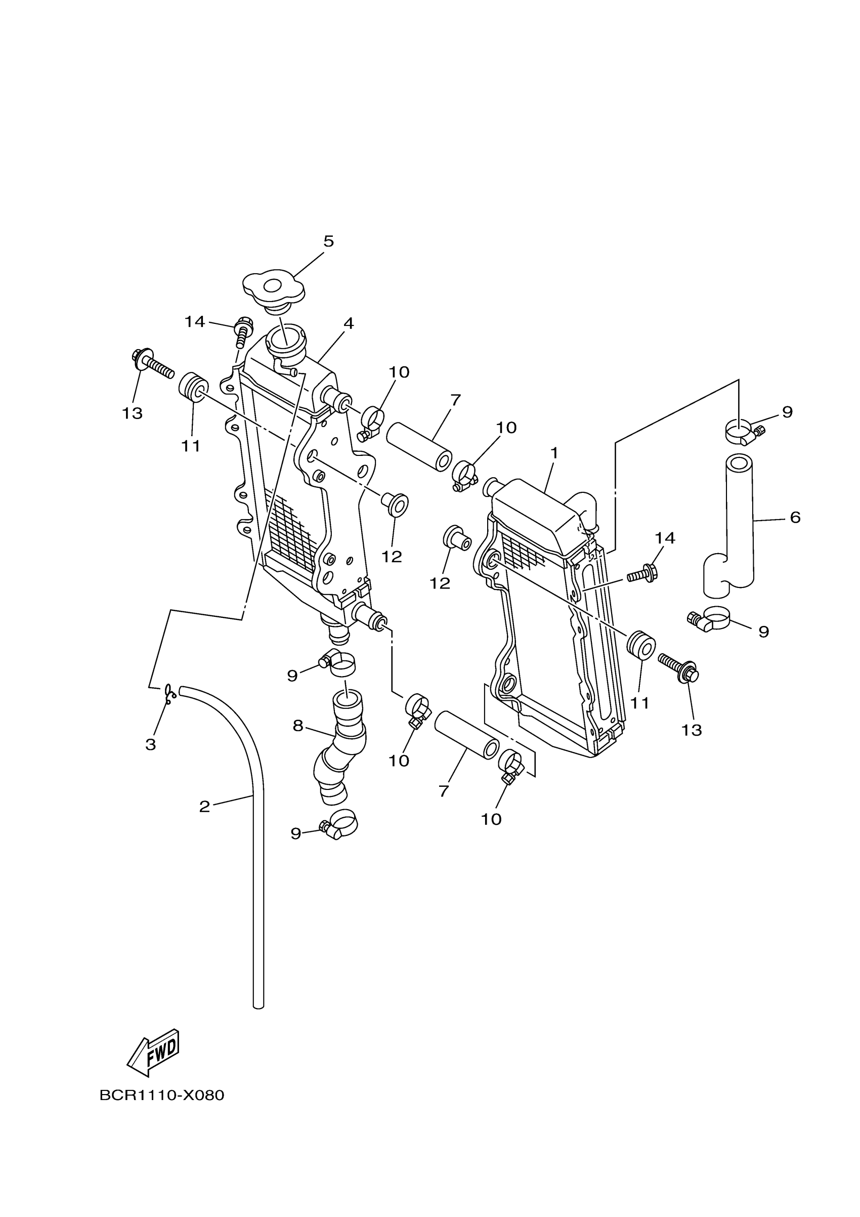
RADIATOR & HOSE
Yamaha YZ250P2ME (YZ250 MONSTER) BCRC 2023 RADIATOR & HOSE Diagram
#
Description
Price
RADIATOR & HOSE
#
Edit ride
