- Partiron
- OEM Parts
- Yamaha
- motorcycle
- 2021
- YZ250M2 (YZ250) B9U9 2021
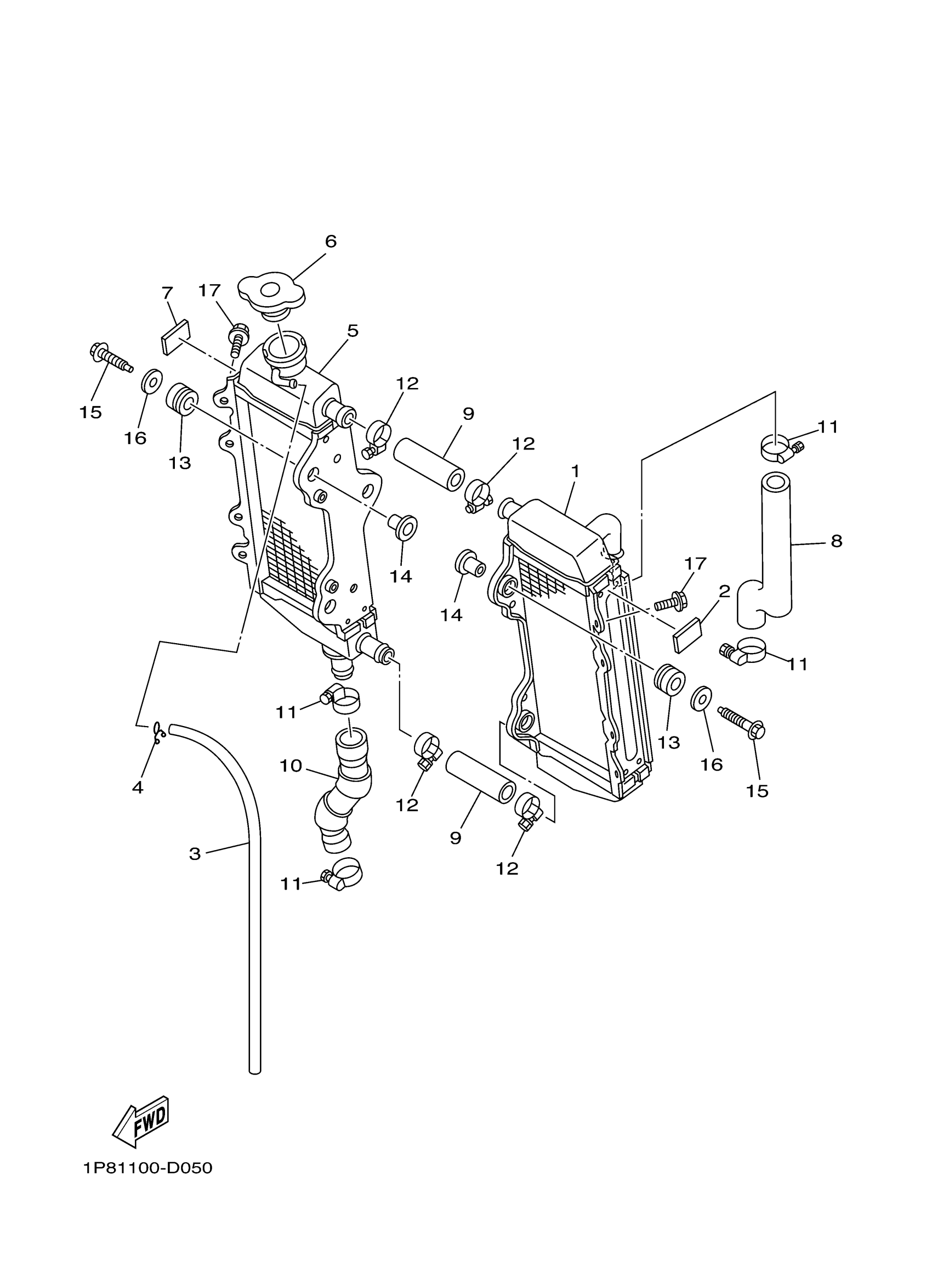
RADIATOR HOSE
Yamaha YZ250M2 (YZ250) B9U9 2021 RADIATOR HOSE Diagram
#
Description
Price
16
WASHER, PLATE (583 REAR FENDER
90201-06571-00
Unavailable
17
BOLT, FLANGE
90105-06118-00
Unavailable
