- Partiron
- OEM Parts
- Yamaha
- motorcycle
- 1998
- YZ250K1 (YZ250) 1998
REAR SUSPENSION
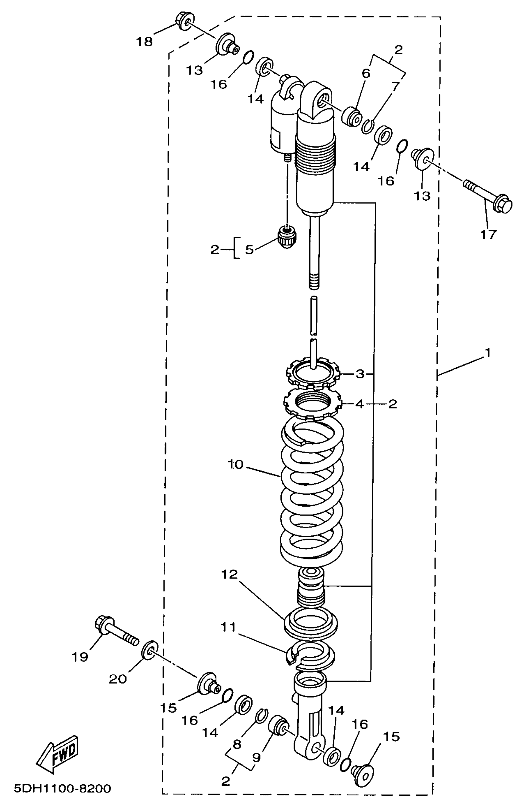
Yamaha YZ250K1 (YZ250) 1998 REAR SUSPENSION Diagram
#
Description
Price
1
SHOCK ABSORBER ASS
5DJ-22210-30-00
Unavailable
2
DAMPER SUB ASSY
5DH-22201-30-00
Unavailable
7
.. CIRCLIP
3Y6-23183-00-00
Unavailable
8
.. CIRCLIP
3Y6-23183-00-00
Unavailable
10
SPRING (K=4.8)
5DH-22212-20-00
Unavailable
11
. GUIDE, SPRING 1
5DH-22214-00-00
Unavailable
12
. GUIDE, SPRING 2
5DH-22224-00-00
Unavailable
13
. COLLAR, DISTANCE
5DH-22253-00-00
Unavailable
15
. COLLAR, DISTANCE
4EW-22253-00-00
Unavailable
16
SEAL, RING
4EW-22474-00-00
Unavailable
17
B0LT,FLANGE (1KT)
90105-10323-00
Unavailable
18
NUT, SELF-LOCKING(JN5)
95607-10200-00
Unavailable
19
BOLT, WASHER BASED(3XJ)
90105-10614-00
Unavailable
20
WASHER, PLATE
90201-112U6-00
Unavailable
