Partiron

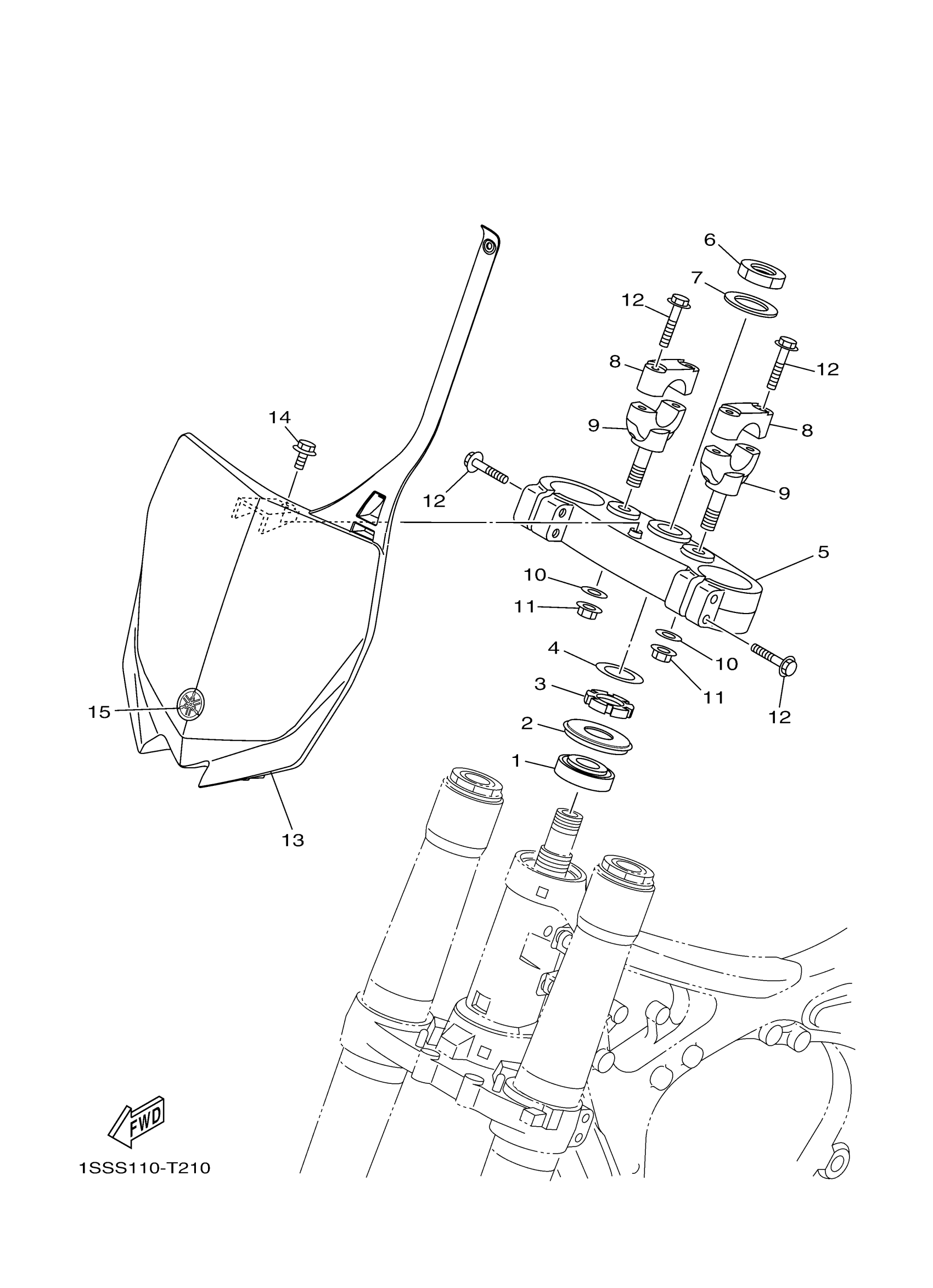
Yamaha YZ250J2 (YZ250) 1SSS 2018 STEERING Diagram

#

Description
Price

1

BEARING(4EW)

93332-00078-00

$64.99

2

COVER, BALL RACE 2

4EW-23416-00-00

$34.99

3

NUT

90179-28013-00

$35.99

4

WASHER, PLATE(1YW)

90201-286K9-00

$7.49

5

CROWN, HANDLE

1SS-23435-10-00

$222.99

6

NUT

90170-24003-00

$25.99

7

WASHER, PLATE

90201-24016-00

$8.49

8

HOLDER, HANDLE UPPER

18P-23441-00-00

$30.99

9

HOLDER, HANDLE LOW

1SS-23442-00-00

$56.99

10

WASHER, PLATE

90201-12028-00

$2.82

11

NUT, SELF-LOCKING

95602-12200-00

$4.46

12

BOLT, FLANGE

90105-08134-00

$7.49

13

PLATE, NUMBER

17D-23485-50-00

$27.99

14

BOLT, FLANGE

90105-06064-00

Unavailable

15

EMBLEM

3C5-2411B-20-00

$10.99