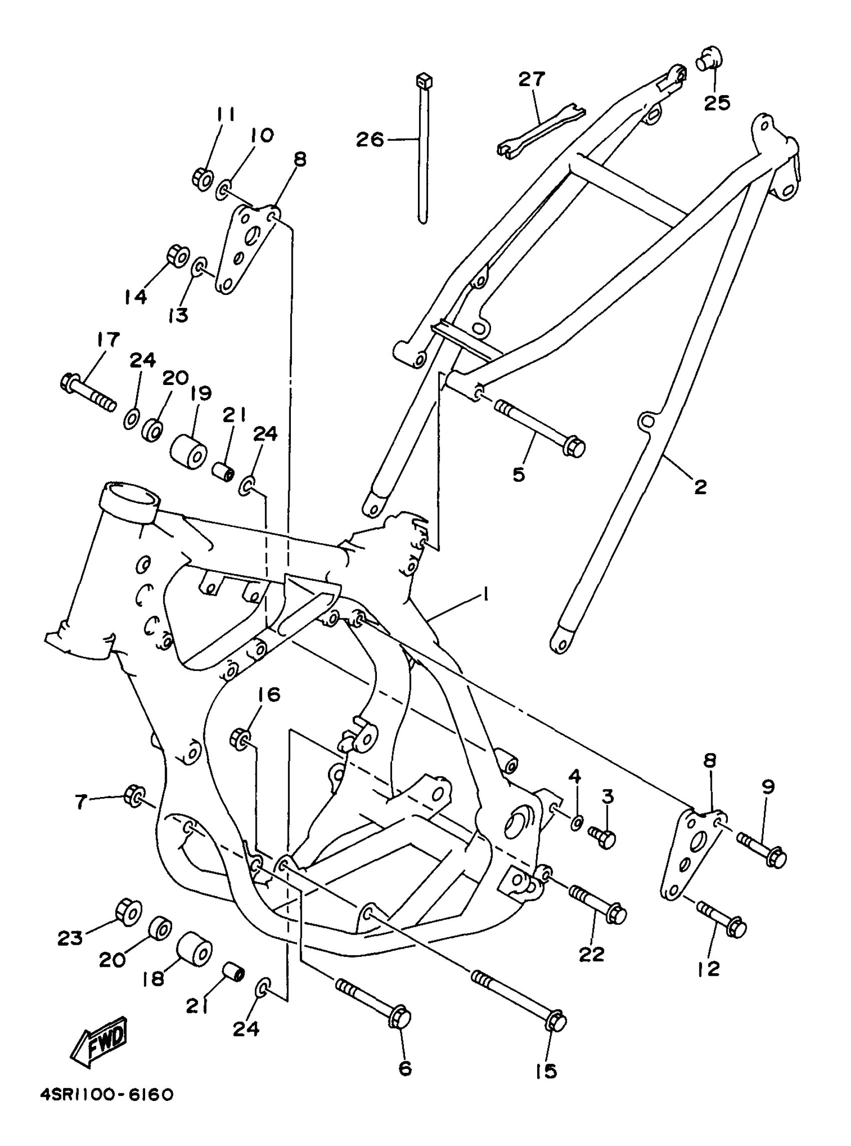
Yamaha YZ250J1 (COMPETITION) 1997 FRAME Diagram
#
Description
Price
1
FRONT FRAME COMP.
4XL-21101-00-2F
Unavailable
2
FRAME,REAR
4XM-21190-00-2F
Unavailable
3
BOLT(4EW)
90106-08051-00
Unavailable
8
BRACKET, REAR UPPER 1
4XL-21425-00-00
Unavailable
17
BOLT, FLANGE(4MY)
95027-08040-00
Unavailable
18
TENSIONER
3JD-22178-20-00
Unavailable
19
TENSIONER
4EW-22178-01-00
Unavailable
20
BEARING (3X3)
93300-60804-00
Unavailable
21
COLLAR(1NL)
90387-086N4-00
Unavailable
22
BOLT, FLANGE
95027-08065-00
Unavailable
23
NUT, FLANGE(JN5)
95707-08500-00
Unavailable
24
WASHER, PLATE(3XP)
90201-086P8-00
Unavailable
25
PLUG(55K)
90338-16148-00
Unavailable
26
CLAMP(MF1)
90464-15152-00
Unavailable
27
WRENCH, HEXAGON
56A-28166-00-00
Unavailable
