- Partiron
- OEM Parts
- Yamaha
- motorcycle
- 1995
- YZ250G1 (YZ250G1) 1995
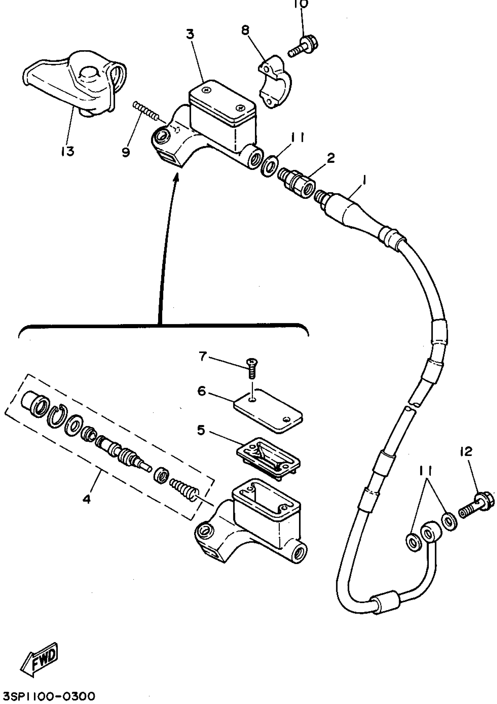
FRONT MASTER CYLINDER
Yamaha YZ250G1 (YZ250G1) 1995 FRONT MASTER CYLINDER Diagram
#
Description
Price
1
HOSE,BRAKE1
4MX-25872-00-00
Unavailable
11
WASHER, PLATE(481)
90201-10118-00
Unavailable
