Partiron

Yamaha YZ250G (YZ250G_H) 1980 CYLINDER YZ250G H Diagram

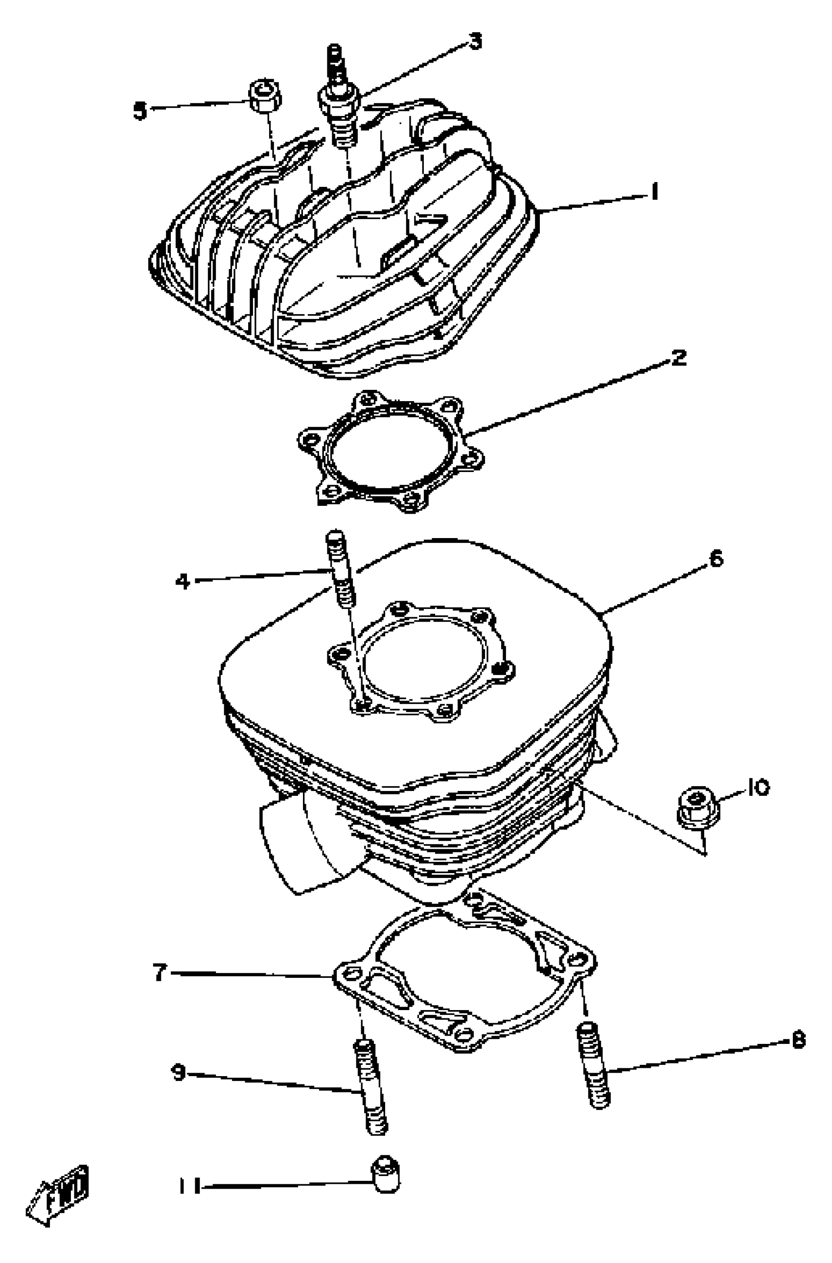
#

Description
Price

1

HEAD, CYLINDER 1

(3R4-11111-00-00)

Unavailable

2

GASKET, CYLINDER HEAD 1

3R4-11181-00-00

Unavailable

3

CHAMPION N2G 10PK

(CMP-N2G00-00-00)

Unavailable

4

BOLT, STUD(3XV)

90116-08564-00

$10.49

5

NUT(55X)

90179-08491-00

$8.49

6

CYLINDER 1 (250H)

4V3-11311-00-00

Unavailable

7

GASKET, CYLINDER

3R4-11351-01-00

$9.99

8

BOLT, STUD

90116-10313-00

Unavailable

9

BOLT, STUD (3R4)

90116-10314-00

$4.46

10

NUT, FLANGE(3BM)

95704-10500-00

$4.29

11

PIN, DOWEL

99530-14016-00

$3.80