- Partiron
- OEM Parts
- Yamaha
- motorcycle
- 2026
- YZ250FXT (YZ250FX) DP31 2026
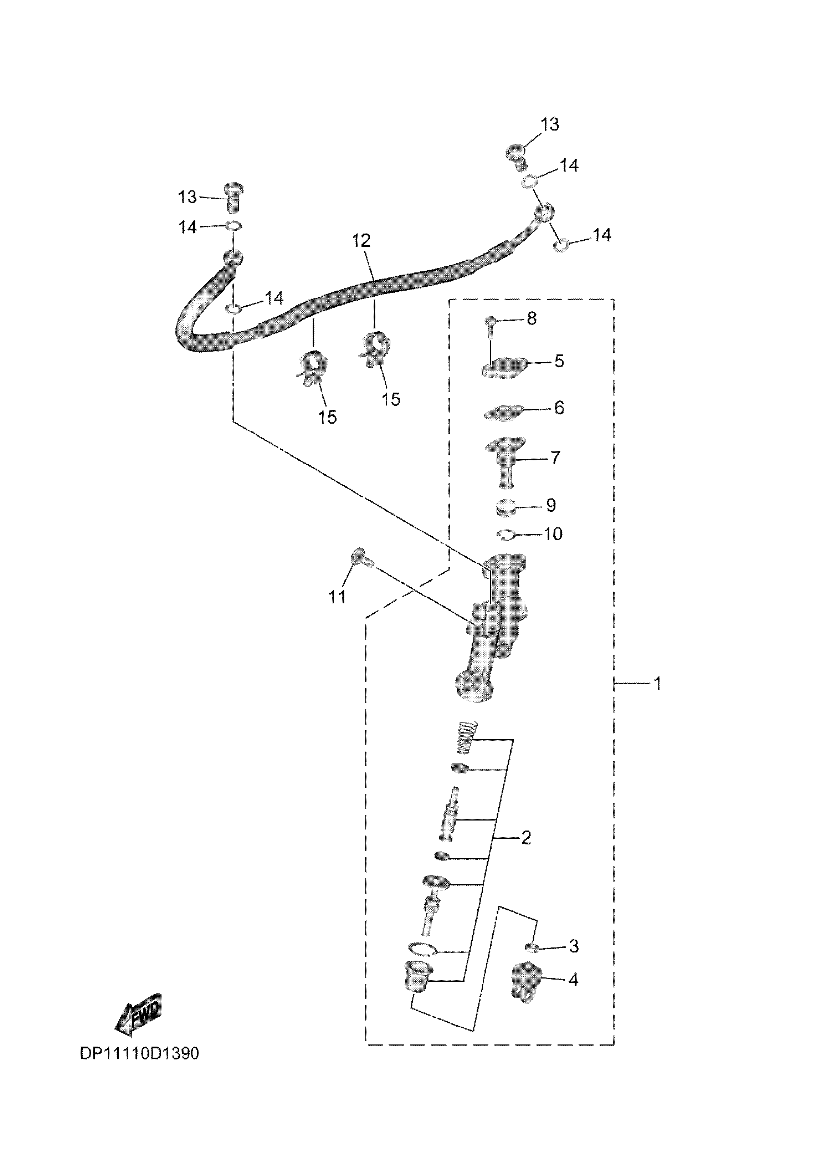
REAR MASTER CYLINDER
Yamaha YZ250FXT (YZ250FX) DP31 2026 REAR MASTER CYLINDER Diagram
#
Description
Price
REAR MASTER CYLINDER
#
Edit ride
