- Partiron
- OEM Parts
- Yamaha
- motorcycle
- 2025
- YZ250FXS (YZ250FX) BXA1 2025
REAR SUSPENSION
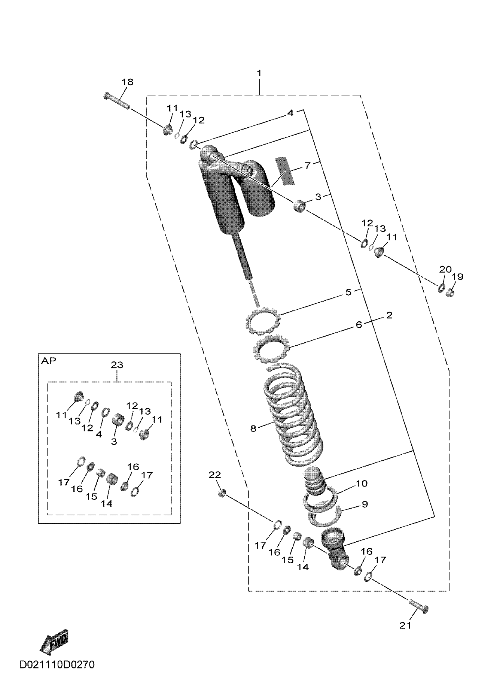
Yamaha YZ250FXS (YZ250FX) BXA1 2025 REAR SUSPENSION Diagram
#
Description
Price
2
DAMPER SUB ASSY
BXA-22201-00-00
Unavailable
16
COLLAR, DISTANCE
1C3-22253-L1-00
Unavailable
17
SEAL, DUST
5NY-22475-00-00
Unavailable
18
BOLT 2
5XE-22242-01-00
Unavailable
19
NUT, S/L FLANGE
95602-10200-00
Unavailable
20
958-69527-00 WASHER, PLAIN
92990-10200-00
Unavailable
21
BOLT 1
5NY-22241-00-00
Unavailable
22
NUT, SELF-LOCKING
90185-10012-00
Unavailable
23
SHOCK BEARING KIT
1SS-W002G-00-00
Unavailable
