- Partiron
- OEM Parts
- Yamaha
- motorcycle
- 2026
- YZ250FTL (YZ250F) DR81 2026
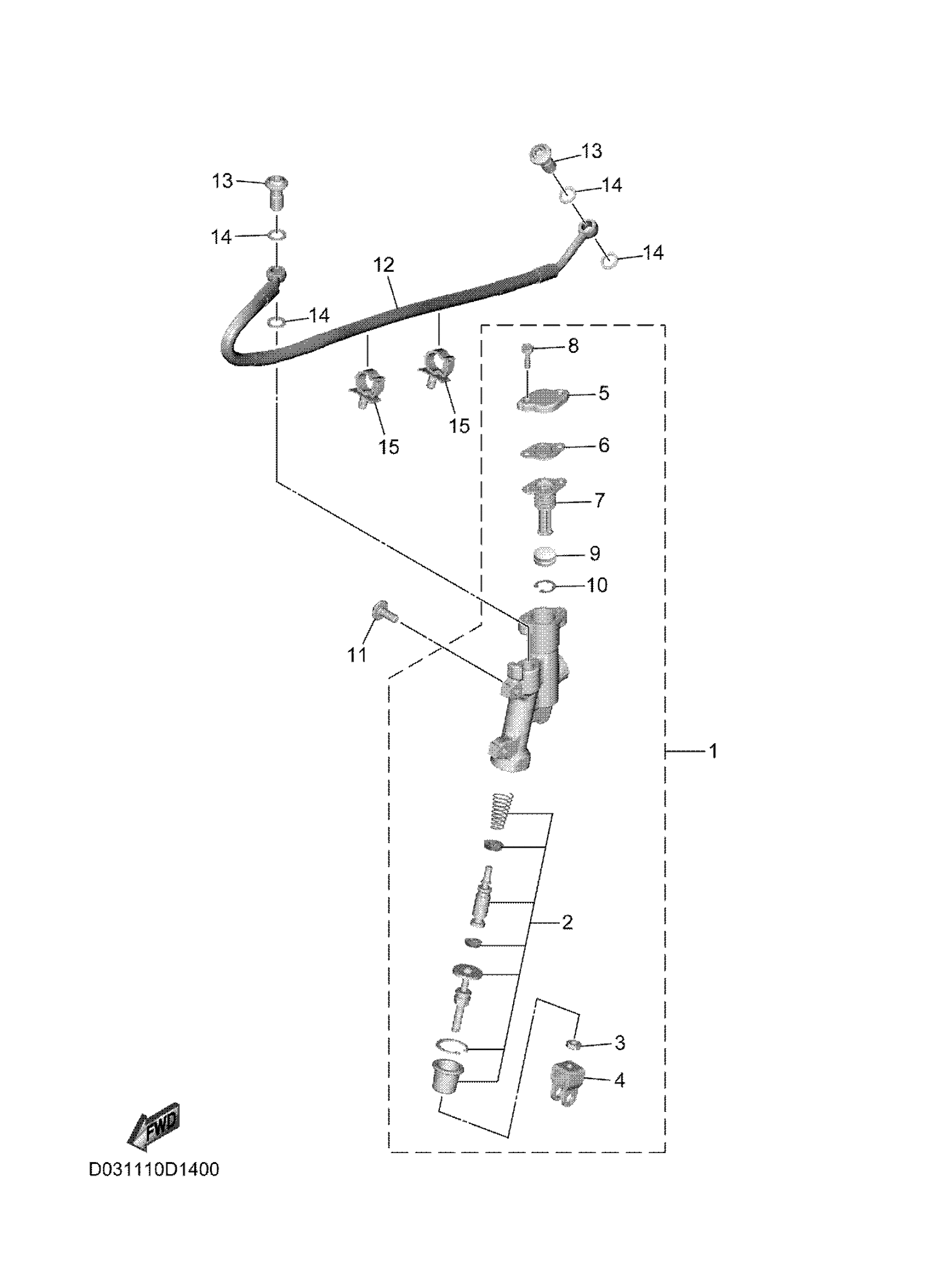
REAR MASTER CYLINDER
Yamaha YZ250FTL (YZ250F) DR81 2026 REAR MASTER CYLINDER Diagram
#
Description
Price
REAR MASTER CYLINDER
#
Edit ride
