- Partiron
- OEM Parts
- Yamaha
- motorcycle
- 2026
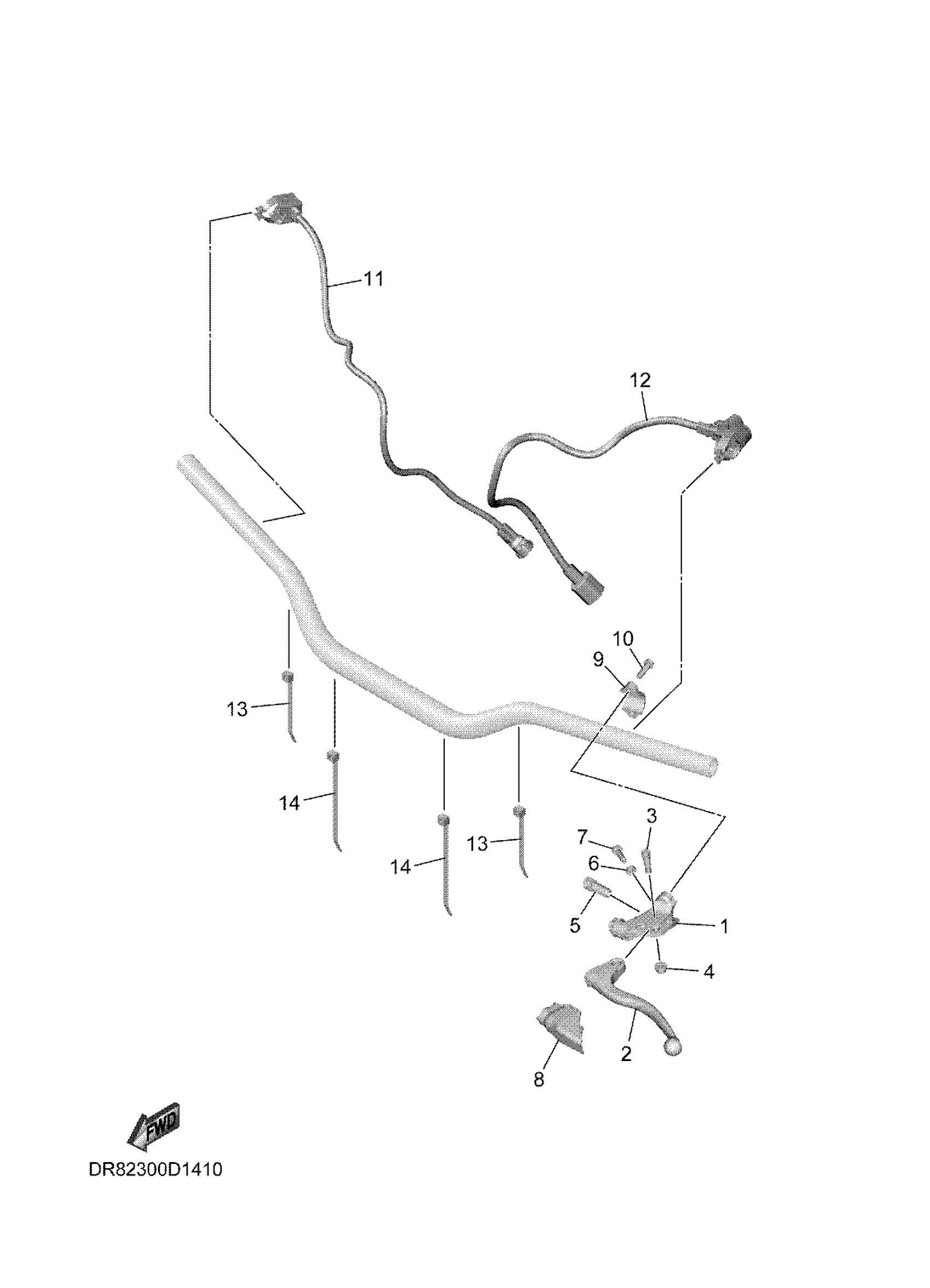
- YZ250FTL (YZ250F) DR81 2026
HANDLE SWITCH & LEVER
Yamaha YZ250FTL (YZ250F) DR81 2026 HANDLE SWITCH & LEVER Diagram
#
Description
Price
12
SWITCH, HANDLE 2
D02-83975-10-00
Unavailable
