- Partiron
- OEM Parts
- Yamaha
- motorcycle
- 2004
- YZ250FS (YZ250F) 5XC1 2004
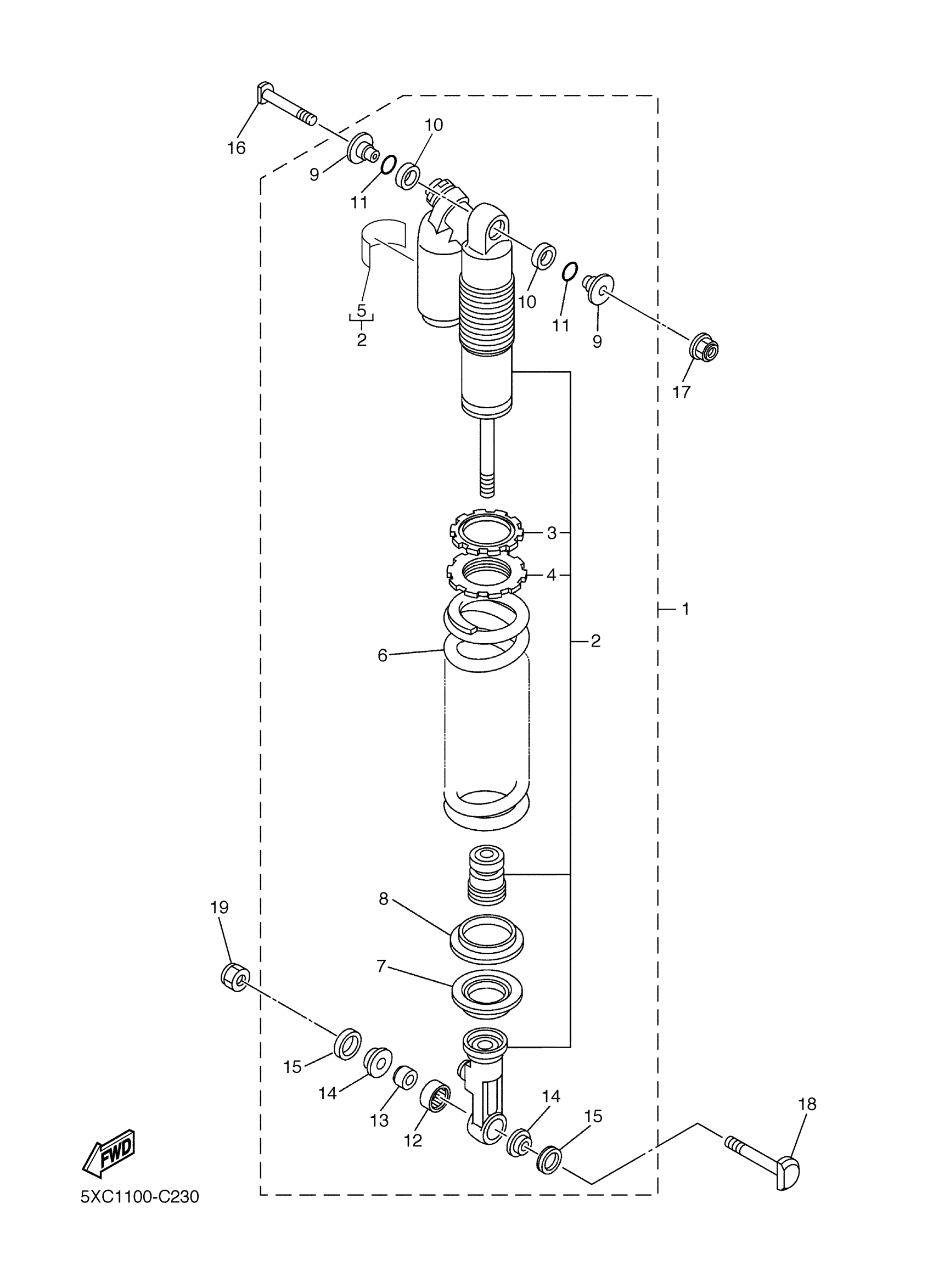
REAR SUSPENSION
Yamaha YZ250FS (YZ250F) 5XC1 2004 REAR SUSPENSION Diagram
#
Description
Price
1
SHOCK ABSORBER ASSY, REAR
5XC-22210-00-00
Unavailable
2
. DAMPER SUB ASSY
5XC-22201-00-00
Unavailable
7
GUIDE, SPRING 1
5XE-22214-00-00
Unavailable
9
. COLLAR, DISTANCE
5DH-22253-00-00
Unavailable
16
BOLT 2
5XE-22242-01-00
Unavailable
17
NUT, SELF-LOCKING(JN5)
95607-10200-00
Unavailable
18
BOLT 1
5NY-22241-00-00
Unavailable
19
NUT, SELFLOCKING (533 FRAME)
90185-10060-00
Unavailable
