- Partiron
- OEM Parts
- Yamaha
- motorcycle
- 2016
- YZ250FGL (YZ250F) 1SM9 2016
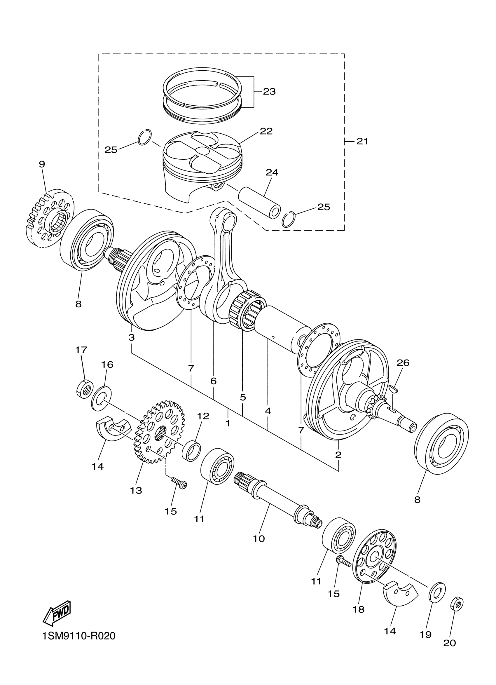
CRANKSHAFT PISTON
Yamaha YZ250FGL (YZ250F) 1SM9 2016 CRANKSHAFT PISTON Diagram
#
Description
Price
2
CRANK 1
1SM-11412-20-00
Unavailable
12
COLLAR
90387-175R2-00
Unavailable
16
WASHER, CONICAL SPRING
90208-14033-00
Unavailable
17
NUT, HEXAGON
90170-14171-00
Unavailable
18
WEIGHT 3
1SM-1145A-00-00
Unavailable
19
WASHER, CONICAL SPRING
90208-10001-00
Unavailable
20
NUT(4BA)
90170-10405-00
Unavailable
21
PISTON ASSY
1SM-116A0-10-00
Unavailable
22
PISTON (STD)
1SM-11631-10-00
Unavailable
23
PISTON RING SET (STD)
1SM-11603-01-00
Unavailable
24
PIN, PISTON
1SM-11633-10-00
Unavailable
25
CIRCLIP(1AR)
93450-17129-00
Unavailable
26
KEY, WOODRUFF
90280-03006-00
Unavailable
