- Partiron
- OEM Parts
- Yamaha
- motorcycle
- 2012
- YZ250FBW (YZ250FB) 17D90 2012
REAR SUSPENSION
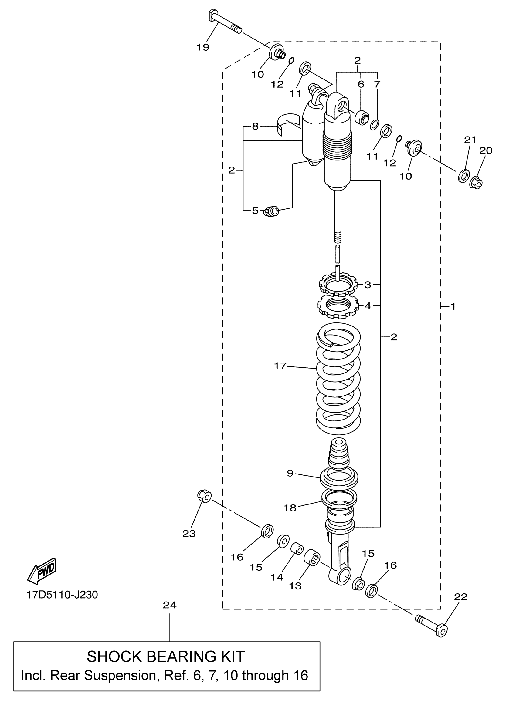
Yamaha YZ250FBW (YZ250FB) 17D90 2012 REAR SUSPENSION Diagram
#
Description
Price
1
SHOCK ABSORBER ASSY, REAR
17D-22200-80-00
Unavailable
2
DAMPER SUB ASSY
17D-22201-00-00
Unavailable
16
SEAL, DUST
5NY-22475-00-00
Unavailable
17
SPRING
5UN-22212-L0-00
Unavailable
18
GUIDE, SPRING 1
17D-22214-00-00
Unavailable
19
BOLT 2
5XE-22242-01-00
Unavailable
20
NUT, S/L FLANGE
95602-10200-00
Unavailable
21
958-69527-00 WASHER, PLAIN
92990-10200-00
Unavailable
22
BOLT 1
5NY-22241-00-00
Unavailable
23
NUT, SELF-LOCKING
90185-10012-00
Unavailable
24
SHOCK BEARING KIT
1SS-W002G-00-00
Unavailable
