- Partiron
- OEM Parts
- Yamaha
- motorcycle
- 2012
- YZ250FBW (YZ250FB) 17D90 2012
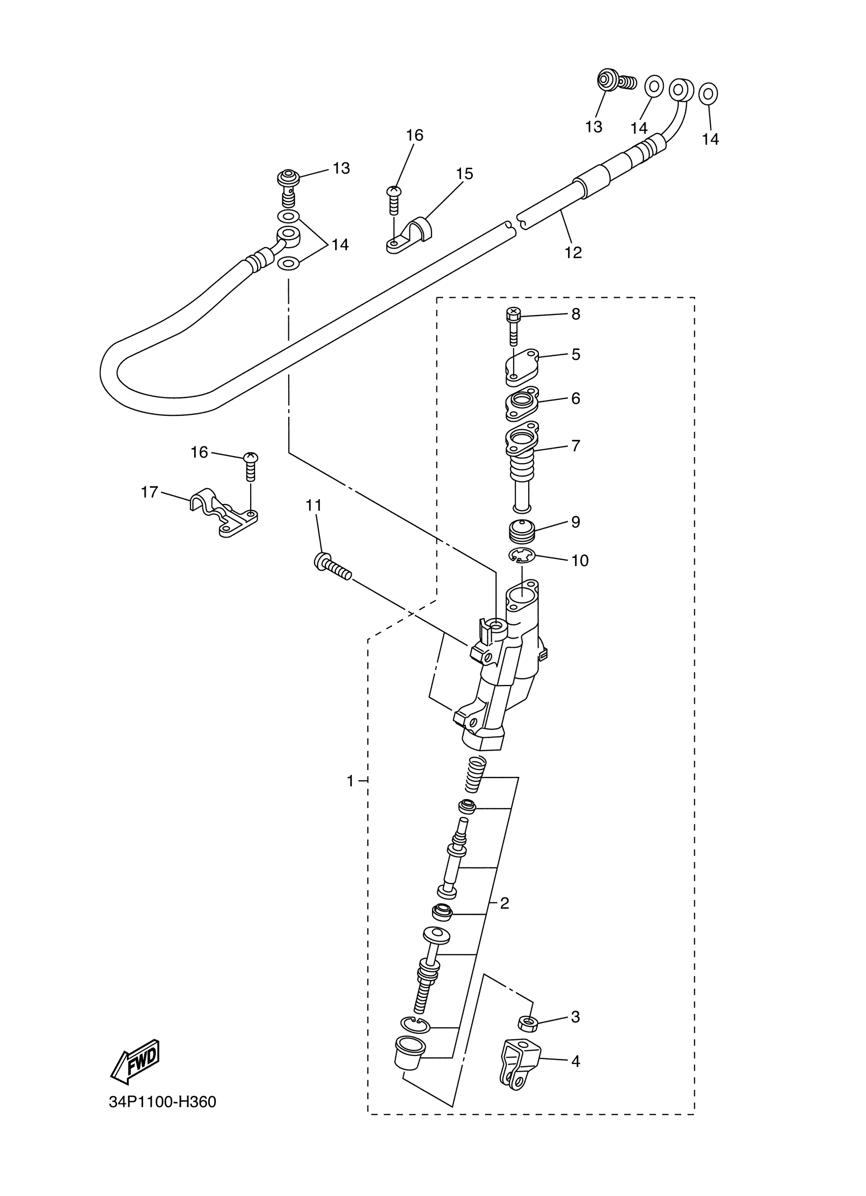
REAR MASTER CYLINDER
Yamaha YZ250FBW (YZ250FB) 17D90 2012 REAR MASTER CYLINDER Diagram
#
Description
Price
16
SCREW, PAN HEAD(3LA)
98517-05010-00
Unavailable
17
HOLDER, BRAKE HOSE 2
1C3-25876-50-00
Unavailable
