Partiron

Yamaha YZ250F1 (YZ250F1) 1994 FENDER Diagram

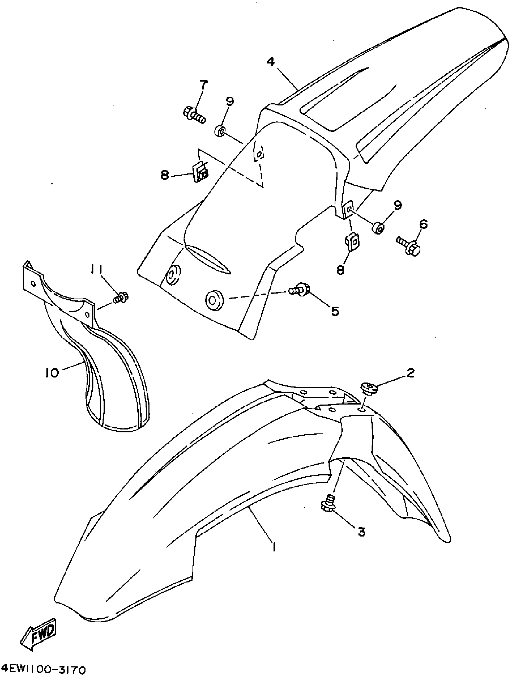
#

Description
Price

1

FENDER, FRONT

4DA-21511-00-00

Unavailable

2

COLLAR

3JD-21748-00-00

$5.49

3

BOLT, WITH WASHER (10V)

90119-06063-00

$9.49

4

FENDER, REAR

4EW-21611-00-00

Unavailable

5

BOLT, WITH WASHER(3JD)

90119-06185-00

$10.49

6

BOLT, FLANGE(2UJ)

95024-06016-00

$8.49

7

BOLT, FLANGE(4AS)

95024-06030-00

$8.49

8

NUT, SPRING (26H)

90183-06023-00

$9.49

9

COLLAR(4EW)

90387-0701A-00

$9.49

10

GUARD, FLAP

39X-21642-00-00

$80.99

11

BOLT, WITH WASHER(3JD)

90119-06185-00

$10.49