- Partiron
- OEM Parts
- Yamaha
- motorcycle
- 1993
- YZ250E1 (YZ250E1) 1993
SIDE COVER
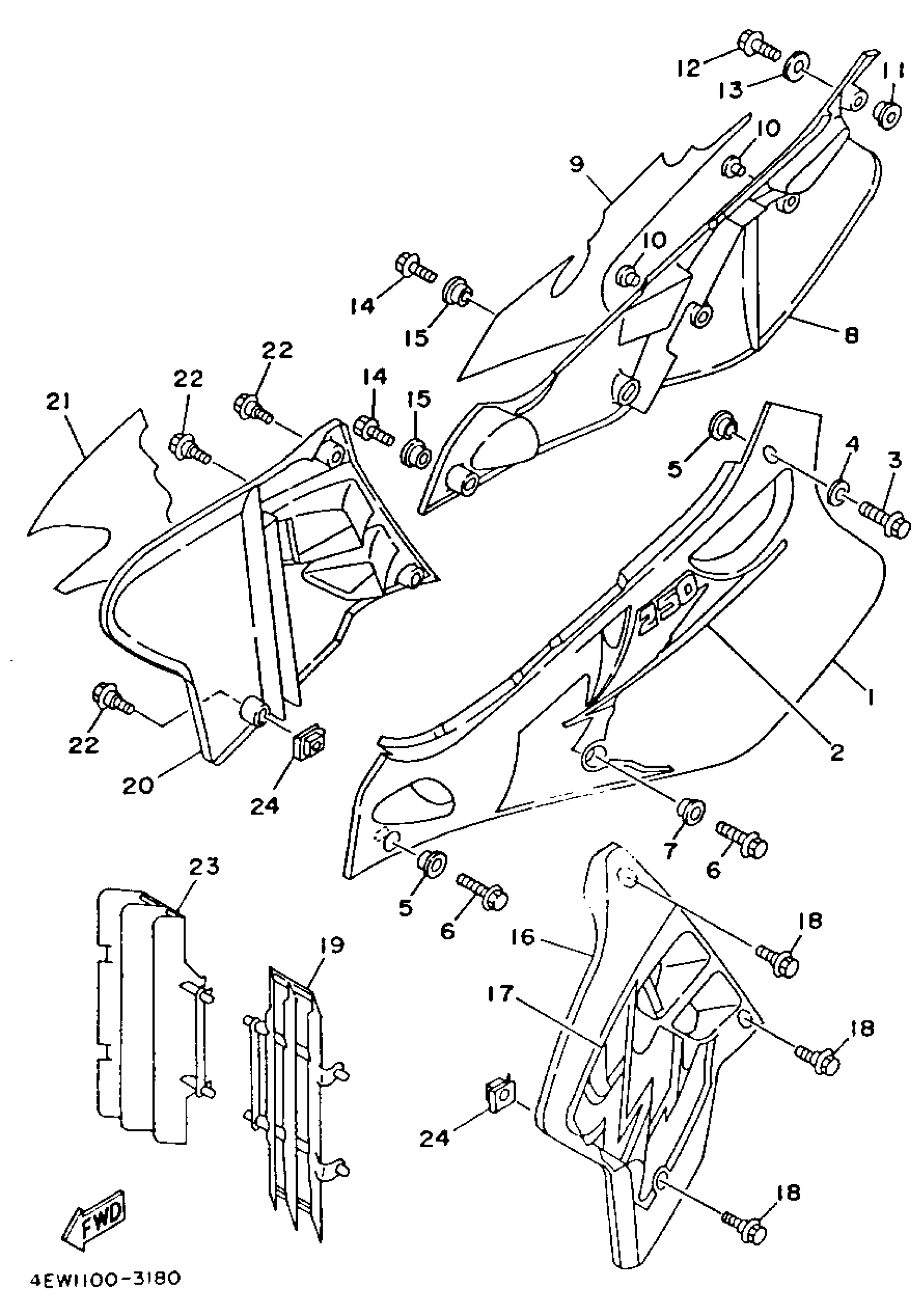
Yamaha YZ250E1 (YZ250E1) 1993 SIDE COVER Diagram
#
Description
Price
1
COVER, SIDE 1
4EW-21711-01-00
Unavailable
2
GRAPHIC 1
4EW-2173E-01-00
Unavailable
8
COVER,SIDE 2
4EW-21721-01-00
Unavailable
9
GRAPHIC 2
4EW-2173F-01-00
Unavailable
16
COVER, SIDE 3
4EW-21731-00-00
Unavailable
17
EMBLEM 3
4EW-21783-01-00
Unavailable
18
BOLT(4EW)
90109-067F4-00
Unavailable
19
PANEL 1
4EW-2172A-00-00
Unavailable
20
COVER, SIDE 4
4EW-21741-00-00
Unavailable
21
EMBLEM 4
4EW-21784-01-00
Unavailable
22
BOLT(4EW)
90109-067F4-00
Unavailable
23
PANEL 1
4EW-2172A-00-00
Unavailable
24
NUT, SPRING
90183-061A1-00
Unavailable
