- Partiron
- OEM Parts
- Yamaha
- motorcycle
- 1993
- YZ250E1 (YZ250E1) 1993
REAR SHOCKS
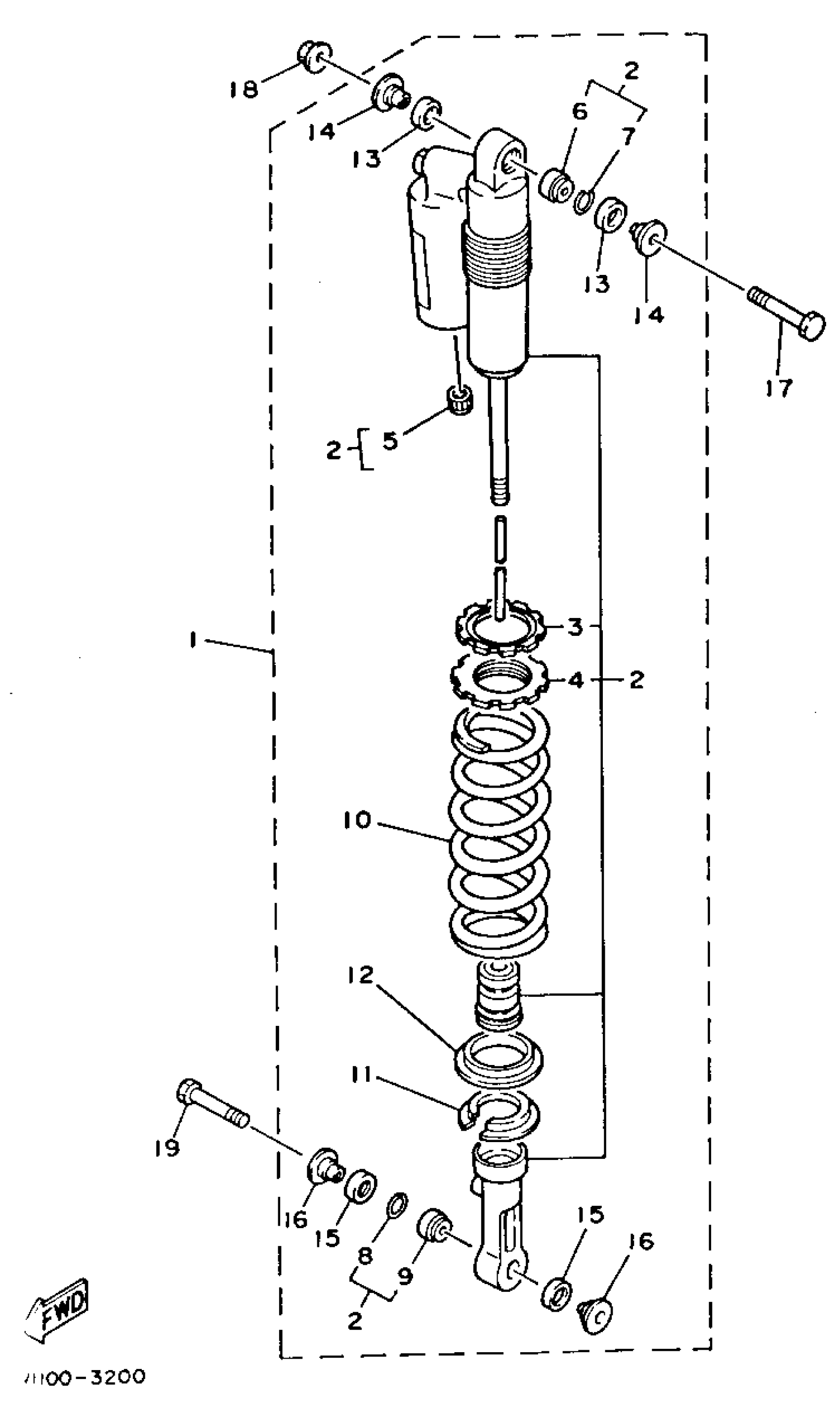
Yamaha YZ250E1 (YZ250E1) 1993 REAR SHOCKS Diagram
#
Description
Price
1
SHK/ABS ASY,REAR
4EW-22210-30-00
Unavailable
2
DAMPER SUB ASY
4EW-22201-30-00
Unavailable
5
.. CAP, AIR VALVE
24M-23184-00-00
Unavailable
6
.. BUSH, REAR SHOCK ABSORBER
3JD-22216-00-00
Unavailable
7
.. RING, STOP
43M-22274-00-00
Unavailable
8
.. CIRCLIP
3Y6-23183-00-00
Unavailable
10
SPRING (K=5.0)
4DA-22212-20-00
Unavailable
12
. GUIDE, SPRING 2
3JD-22224-00-00
Unavailable
14
. COLLAR, DISTANCE
3XJ-22253-00-00
Unavailable
16
. COLLAR, DISTANCE
4EW-22253-00-00
Unavailable
17
BOLT 1
3SP-22241-00-00
Unavailable
18
NUT, SELF-LOCKING(JN5)
95607-10200-00
Unavailable
19
BOLT, WASHER BASED(3XJ)
90105-10614-00
Unavailable
