Yamaha YZ250D2 (YZ250) 1SS5 2013 FENDER Diagram
#
Description
Price
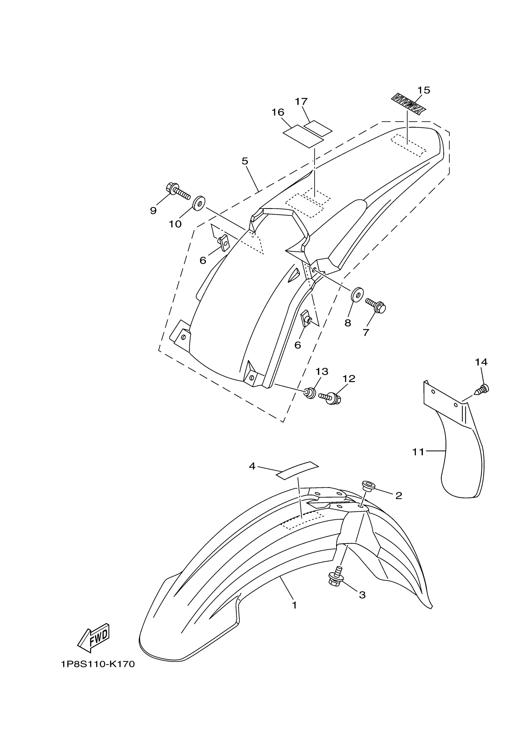
5
REAR FENDER COMP.
5XE-21610-20-00
Unavailable
16
LABEL, CAUTION
5PA-2118K-01-00
Unavailable
17
PLATE, COMPETITION USA
17D-2812P-00-00
Unavailable
