Partiron

Yamaha YZ250C (YZ250C) 1976 SHIFT SHAFT YZ250E Diagram

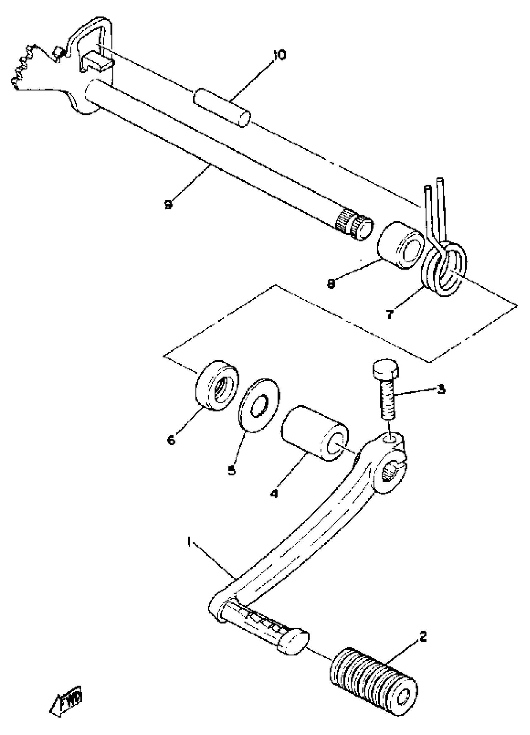
#

Description
Price

1

PEDAL, SHIFT (2K7-18111-00-33)

2K7-18111-00-00

Unavailable

2

COVER, CHANGE PEDAL

132-18113-01-00

$7.99

3

BOLT, HEXAGON

97017-06025-00

$4.24

4

SPACER (3Y1)

90560-12191-00

$7.49

5

WASHER

90201-12588-00

$7.49

6

SEAL, OIL (30X)

93102-12321-00

$12.49

7

SPRING, TORSION (2K7)

90508-32374-00

$7.49

8

SPACER

90560-12171-00

Unavailable

9

SHIFT SHAFT ASSEMBLY.1

2K7-18101-00-00

Unavailable

10

PIN, DOWEL

93608-30152-00

Unavailable