- Partiron
- OEM Parts
- Yamaha
- motorcycle
- 1976
- YZ250C (YZ250C) 1976
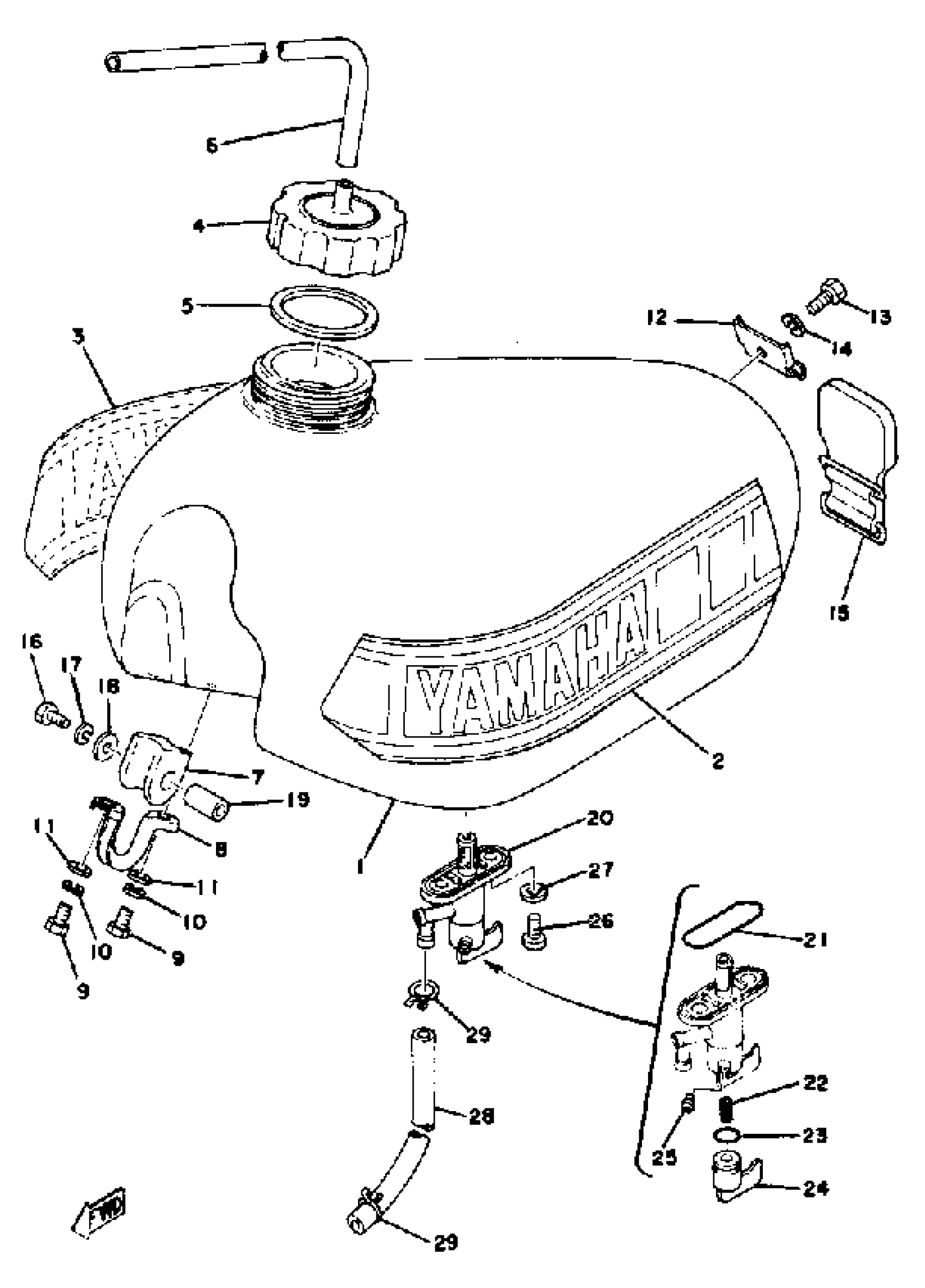
FUEL TANK YZ250D - E
Yamaha YZ250C (YZ250C) 1976 FUEL TANK YZ250D - E Diagram
#
Description
Price
1
FUEL TANK
(1W4-24110-00-00)
Unavailable
2
GRAPHIC, FUEL TNK 1
(1W4-24244-00-00)
Unavailable
3
GRAPHIC, FUEL TNK 2
2K8-24245-20-00
Unavailable
4
BODY, CAP
1W1-24611-00-00
Unavailable
6
HOSE (L545)
90445-09361-00
Unavailable
8
HOLDER, DAMPER
1W1-24144-01-00
Unavailable
10
WASHER, SPRING
92995-06100-00
Unavailable
12
BRACKET, FUEL TNK 2
1W1-24192-00-00
Unavailable
14
WASHER, SPRING
92995-06100-00
Unavailable
15
BAND, TNK FITTING 1
1W1-24173-00-00
Unavailable
16
BOLT(3RV)
97014-06035-00
Unavailable
17
WASHER, SPRING
92995-06100-00
Unavailable
18
WASHER, PLATE
90201-06747-00
Unavailable
19
COLLAR, LEVER 1
36Y-83913-01-00
Unavailable
20
FUEL COCK ASSY
2K5-24500-00-00
Unavailable
21
GASKET, BODY
214-24512-00-00
Unavailable
22
. SPRING
1A0-24529-01-00
Unavailable
23
O-RING
1A0-24512-00-00
Unavailable
24
. LEVER, COCK
1A0-24524-01-00
Unavailable
25
. SCREW, LEVER FITTING
619-24535-00-00
Unavailable
26
SCREW 256241430000
90149-06011-00
Unavailable
27
WASHER, PLATE(3MB)
90202-05187-00
Unavailable
28
HOSE (L370)
90445-112E1-00
Unavailable
29
CLIP
90467-100A1-00
Unavailable
