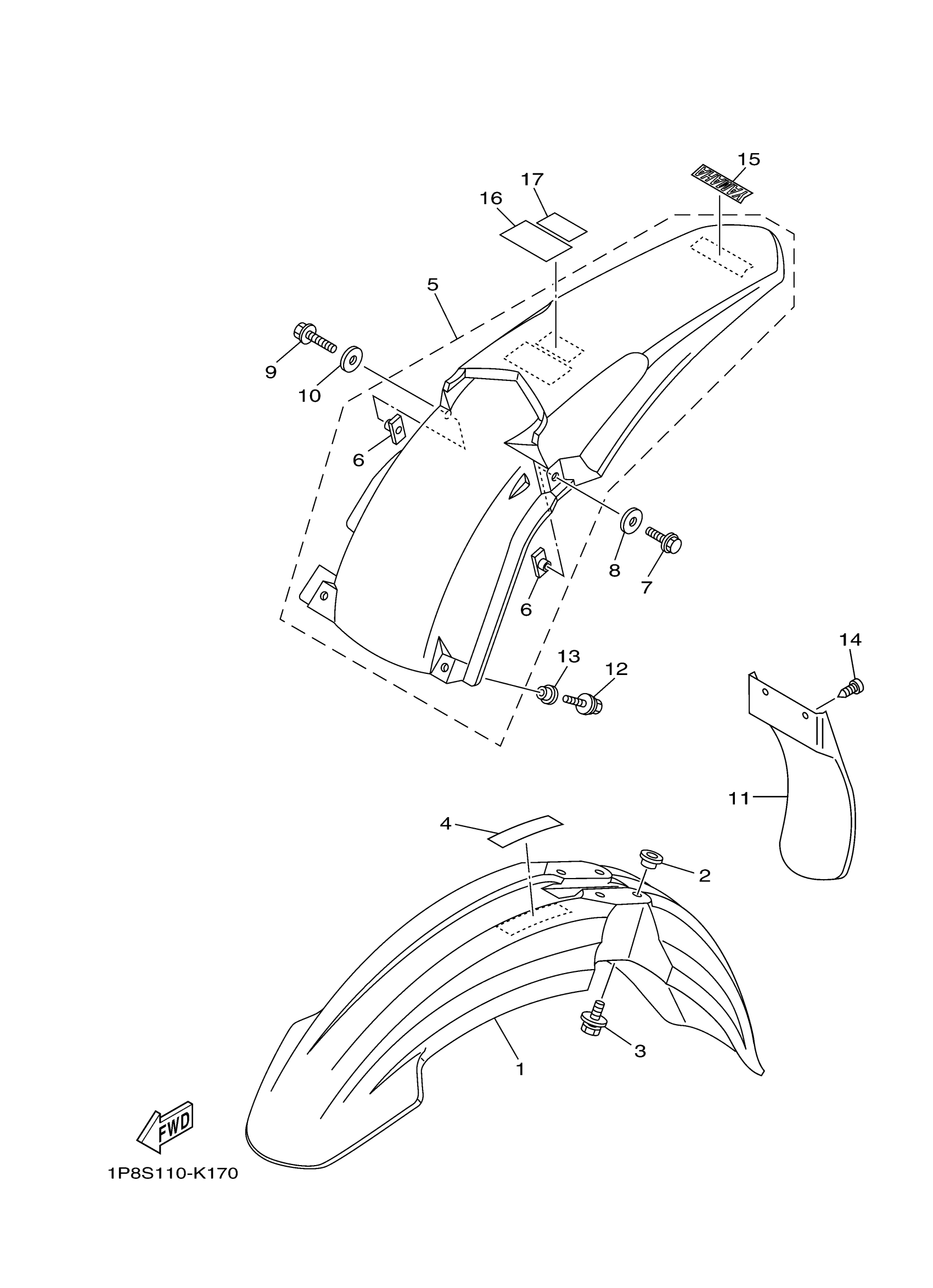
Yamaha YZ250A1 (YZ250) 1P8S 2011 FENDER Diagram
#
Description
Price
16
LABEL, CAUTION
5PA-2118K-01-00
Unavailable
17
PLATE, COMPETITION USA
17D-2812P-00-00
Unavailable
#
16
5PA-2118K-01-00
Unavailable
17
17D-2812P-00-00
Unavailable
Edit ride
