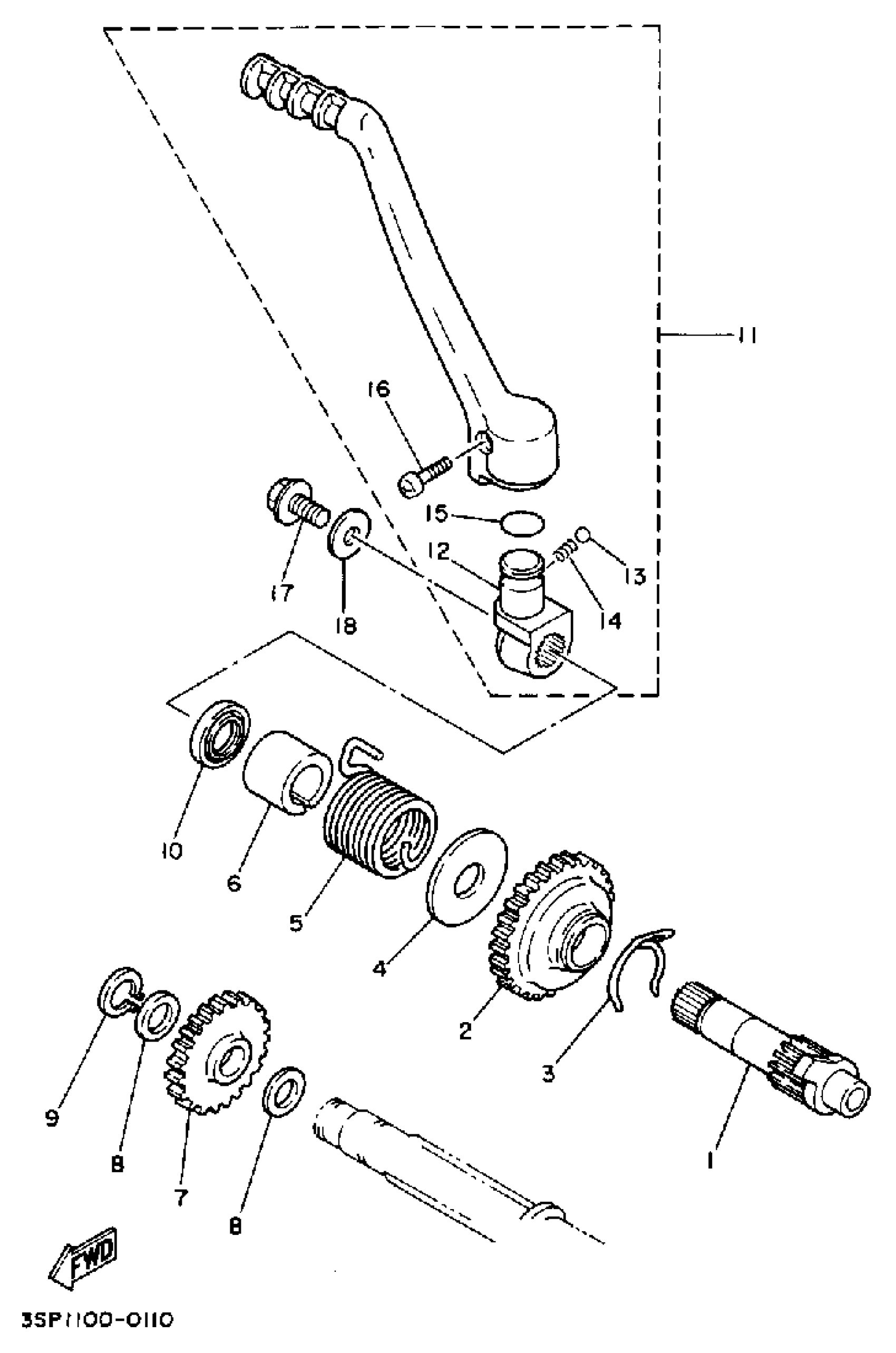
Yamaha YZ250A (YZ250A) 1974 STARTER Diagram
#
Description
Price
1
KICK AXLE ASY
4JW-15660-00-00
Unavailable
2
GEAR, KICK
3R4-15641-00-00
Unavailable
4
WASHER, PLATE
90201-20358-00
Unavailable
6
GUIDE, SPRING
2VM-15664-00-00
Unavailable
7
GEAR, KICK IDLE (23T)
38V-15651-00-00
Unavailable
12
BOSS,KICK CRANK
3SP-15621-02-00
Unavailable
15
O-RING
93210-19216-00
Unavailable
16
SCREW, COUNTERSUNK (5Y1)
90152-06010-00
Unavailable
17
BOLT, FLANGE(2UJ)
95024-08020-00
Unavailable
18
WASHER, PLATE (8L8)
90201-087A9-00
Unavailable
