- Partiron
- OEM Parts
- Yamaha
- motorcycle
- 1976
- YZ125X (YZ125X) 1976
CARBURETOR YZ125X
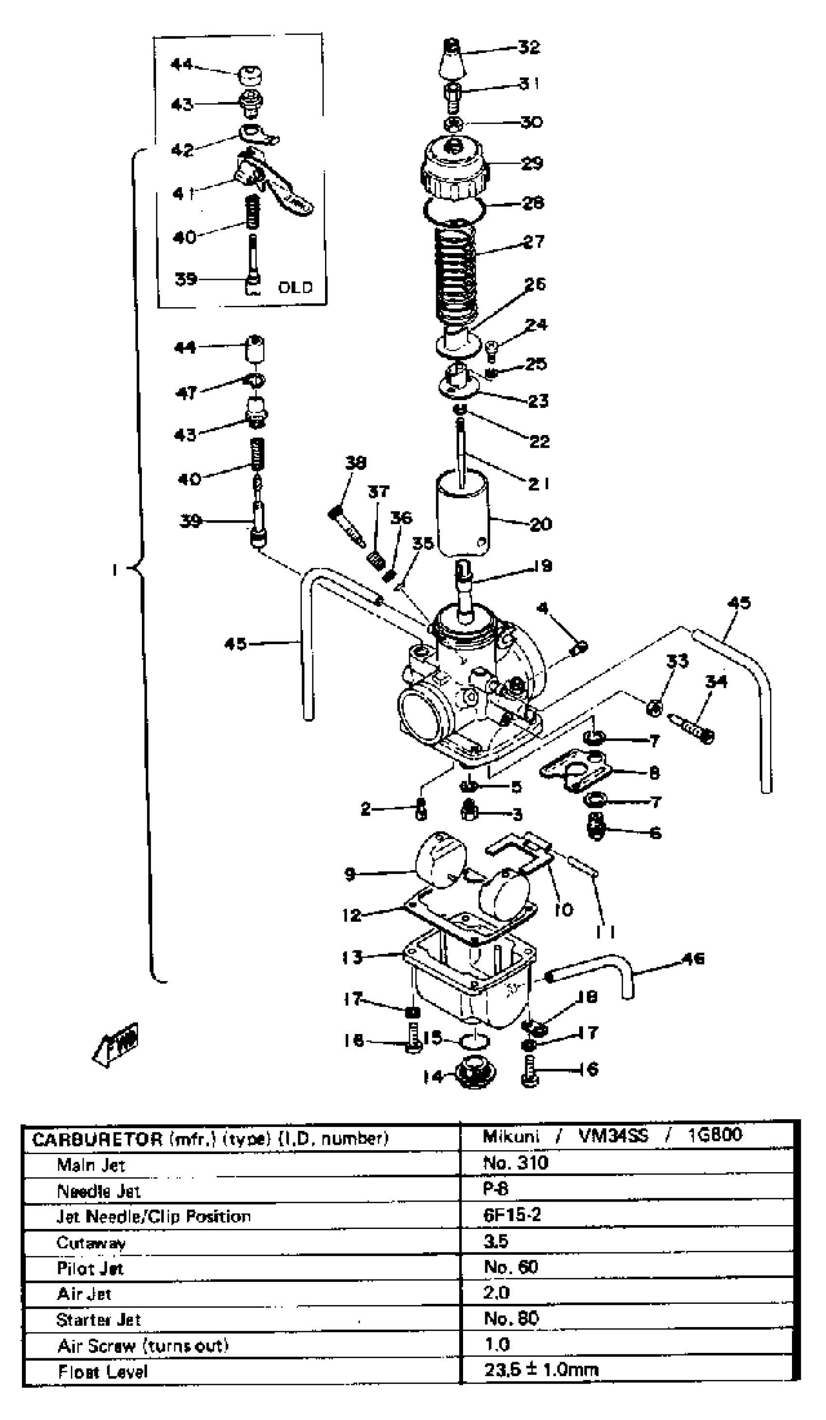
Yamaha YZ125X (YZ125X) 1976 CARBURETOR YZ125X Diagram
#
1
CARBURETOR ASSEMBLY 1 000
(1G8-14101-01-00)
Unavailable
1
CARBURETOR ASSEMBLY 1 000
(1G8-14101-01-00)
Unavailable
2
. JET, PILOT #60
193-14142-60-00
Unavailable
3
JET, MAIN #310
137-14143-62-A1
Unavailable
3
JET, MAIN #320
137-14143-64-00
Unavailable
5
WASHER, MAIN JET
(1G8-14153-00-00)
Unavailable
7
WASHER,VALVE SEAT
239-14195-00-00
Unavailable
8
. PLATE
483-14146-00-00
Unavailable
9
. FLOAT
310-14185-00-00
Unavailable
10
. ARM, FLOAT
310-14187-00-00
Unavailable
13
BODY, FLOAT CHAMBER 1
(310-14181-16-00)
Unavailable
14
PLUG, SCREW
500-14115-00-00
Unavailable
15
O-RING (541)
558-14147-00-00
Unavailable
16
SCREW, PAN HEAD(6B0)
97885-05016-00
Unavailable
17
YBS67-5 WASHER, SPRING
92990-05100-00
Unavailable
18
. PLATE
313-14146-00-00
Unavailable
19
. NOZZLE, MAIN P-8
239-14141-48-00
Unavailable
20
VALVE, THROTTLE 1
(509-14112-35-00)
Unavailable
21
. NEEDLE (6F15-3)
239-14116-15-00
Unavailable
22
CLIP
3FA-14137-00-00
Unavailable
23
. CONNECTOR
509-14274-00-00
Unavailable
24
SCREW, PAN HEAD (J10)
98580-03008-00
Unavailable
25
WASHER, SPRING
92990-03100-00
Unavailable
26
. SEAT, SPRING
509-14136-00-00
Unavailable
27
. SPRING, THROTTLE VALVE
363-14131-00-00
Unavailable
28
. O-RING
93210-40289-00
Unavailable
29
TOP, MIXING CHAMBER
(509-14158-00-00)
Unavailable
30
NUT, WIRE ADJUSTING
802-14161-00-00
Unavailable
31
. SCREW, CABLE ADJUSTING
360-14124-20-00
Unavailable
32
CAP
(525-14169-00-00)
Unavailable
33
NUT, WIRE ADJUSTING
127-14161-00-00
Unavailable
34
THROTTLE SCREW SET
40T-14103-00-00
Unavailable
35
. O-RING
6K8-14562-00-00
Unavailable
36
WASHER,NEEDLE
812-14235-00-00
Unavailable
37
. SPRING, AIR ADJUSTING
137-14134-00-00
Unavailable
38
. SCREW, AIR ADJUSTING
1G8-14123-00-00
Unavailable
39
. PLUNGER, STARTER
174-14171-00-00
Unavailable
39
PLUNGER, STARTER
(1G8-14171-00-00)
Unavailable
40
SPRING, PLUNGER
156-14135-00-00
Unavailable
40
. SPRING, PLUNGER
256-14135-00-00
Unavailable
41
TOOL
UNA-VAILA-BL-EI
Unavailable
42
TOOL
UNA-VAILA-BL-EI
Unavailable
43
. PLUNGER, STARTER 000
(152-14171-00-00)
Unavailable
43
. CAP, PLUNGER
802-14174-00-00
Unavailable
44
. COVER, PLUNGER CAP
637-14173-00-00
Unavailable
44
. COVER, PLUNGER CAP
802-14173-00-00
Unavailable
45
HOSE
89A-14987-00-00
Unavailable
46
PIPE, OVER FLOW
2J2-14196-00-00
Unavailable
47
CLIP, PLUNGER
353-14138-00-00
Unavailable
