- Partiron
- OEM Parts
- Yamaha
- motorcycle
- 2006
- YZ125V (YZ125) 1C35 2006
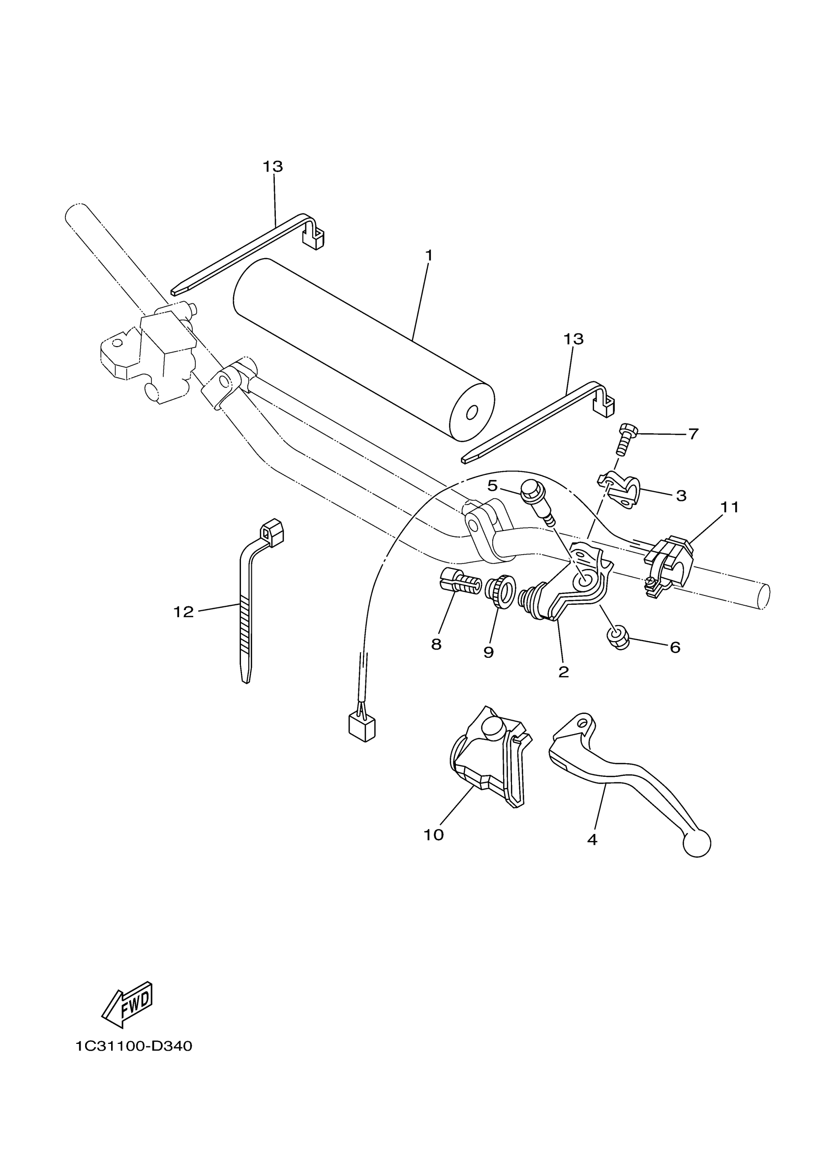
HANDLE SWITCH LEVER
Yamaha YZ125V (YZ125) 1C35 2006 HANDLE SWITCH LEVER Diagram
#
Description
Price
1
PROTECTOR, HANDLEBAR
1C3-26124-00-00
Unavailable
