- Partiron
- OEM Parts
- Yamaha
- motorcycle
- 1988
- YZ125U (YZ125U) 1988
REAR BRAKE CALIPER
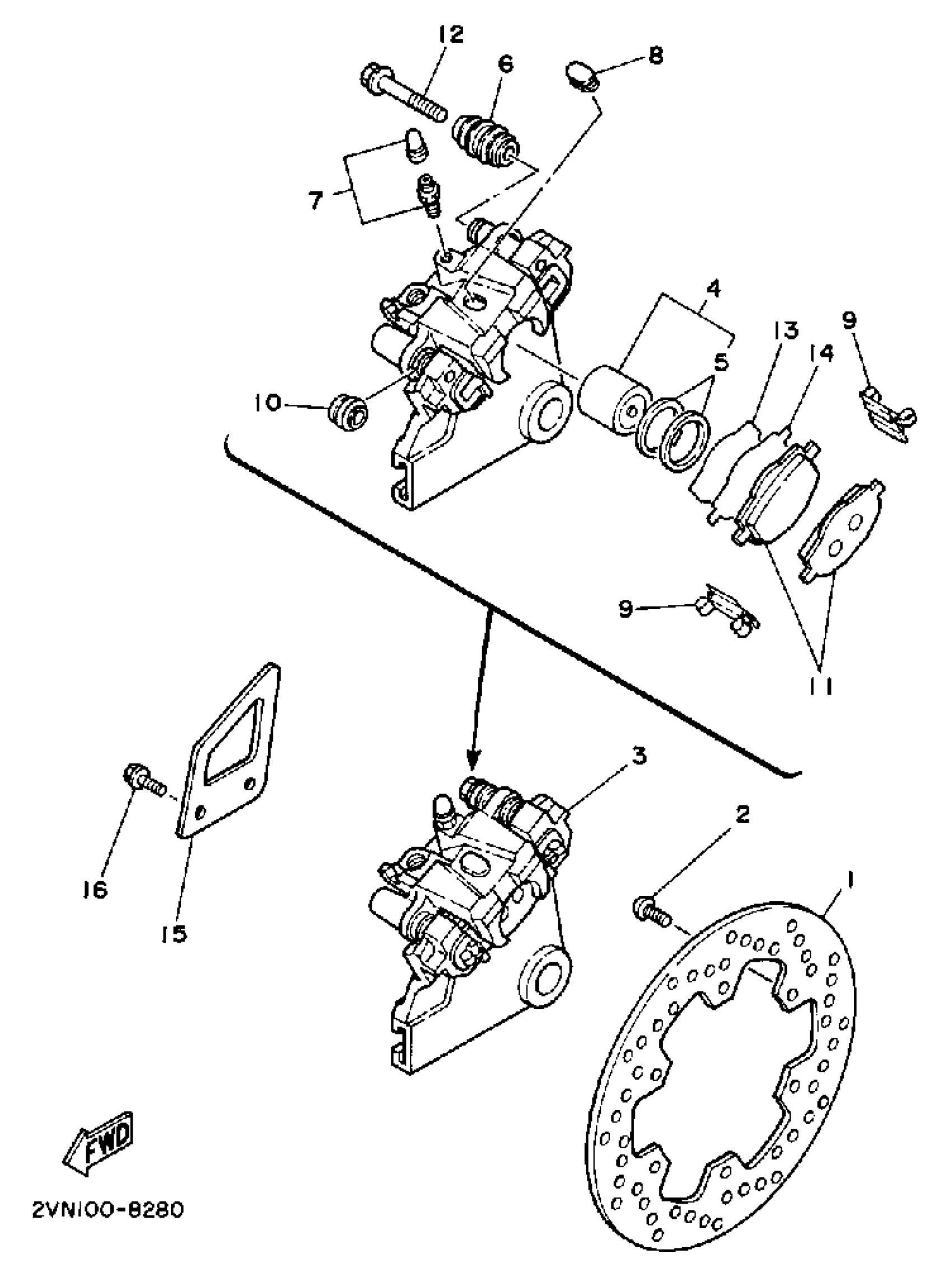
Yamaha YZ125U (YZ125U) 1988 REAR BRAKE CALIPER Diagram
#
Description
Price
1
DISC, BRAKE
2VN-25831-50-00
Unavailable
3
CALIPER ASSEMBLY (2VN-25810-50-00)
2VN-2580W-00-00
Unavailable
4
PISTON ASSY, CALIPER
4KJ-W0057-00-00
Unavailable
5
CALIPER SEAL KIT
4ML-W0047-00-00
Unavailable
9
SUPPORT, PAD
2KF-25919-00-00
Unavailable
13
. SHIM, CALIPER
2KF-25827-00-00
Unavailable
14
. SHIM, CALIPER
2KF-25828-00-00
Unavailable
15
PROTECTOR
2KF-27491-00-00
Unavailable
16
BOLT, FLANGE(2UJ)
95024-06016-00
Unavailable
