Yamaha YZ125N2L (YZ125) B4X1 2022 FRAME Diagram
#
Description
Price
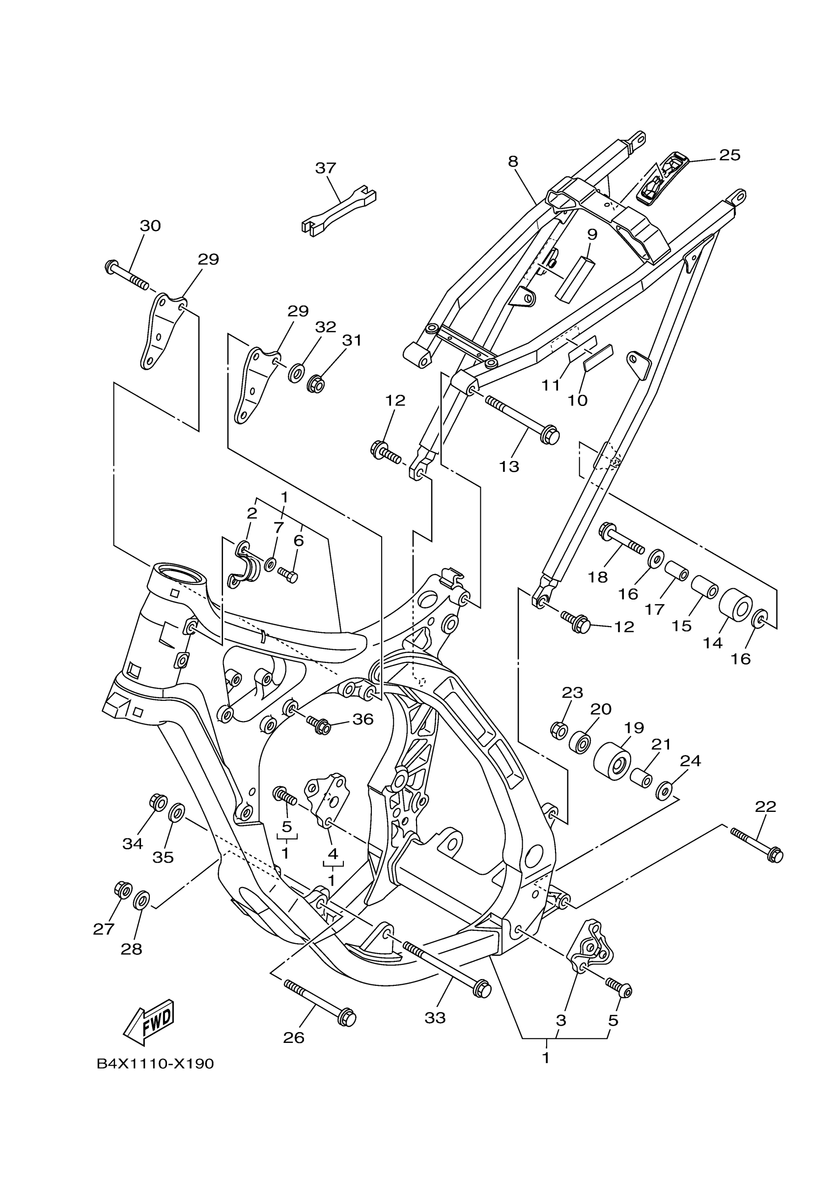
1
FRONT FRAME COMP.
1SR-21101-00-00
Unavailable
16
WASHER, PLATE
90201-08045-00
Unavailable
17
COLLAR
90387-08041-00
Unavailable
18
BOLT, FLANGE DEEP RECESS
95E32-08040-00
Unavailable
19
TENSIONER
3JD-22178-20-00
Unavailable
20
BEARING (3X3)
93300-60804-00
Unavailable
21
COLLAR(1NL)
90387-086N4-00
Unavailable
22
BOLT, FLANGE DEEP
95E32-08060-00
Unavailable
23
NUT, U
95617-08100-00
Unavailable
24
WASHER, PLATE
90201-08043-00
Unavailable
25
COVER
B4X-2117F-00-00
Unavailable
26
BOLT, FLANGE
90105-10175-00
Unavailable
27
NUT(4KG)
90179-10658-00
Unavailable
28
958-69527-00 WASHER, PLAIN
92990-10200-00
Unavailable
29
BRACKET, REAR UPPE
B4X-21425-00-00
Unavailable
30
BOLT
90111-08028-00
Unavailable
31
NUT(4KM)
90179-08674-00
Unavailable
32
WASHER, PLATE
90201-08055-00
Unavailable
33
BOLT, FLANGE
90105-10176-00
Unavailable
34
NUT(4KG)
90179-10658-00
Unavailable
35
958-69527-00 WASHER, PLAIN
92990-10200-00
Unavailable
36
NUT
1C3-21244-20-00
Unavailable
37
WRENCH, HEXAGON
5ET-28166-10-00
Unavailable
