- Partiron
- OEM Parts
- Yamaha
- motorcycle
- 1985
- YZ125N (YZ125N) 1985
STAND - FOOTREST
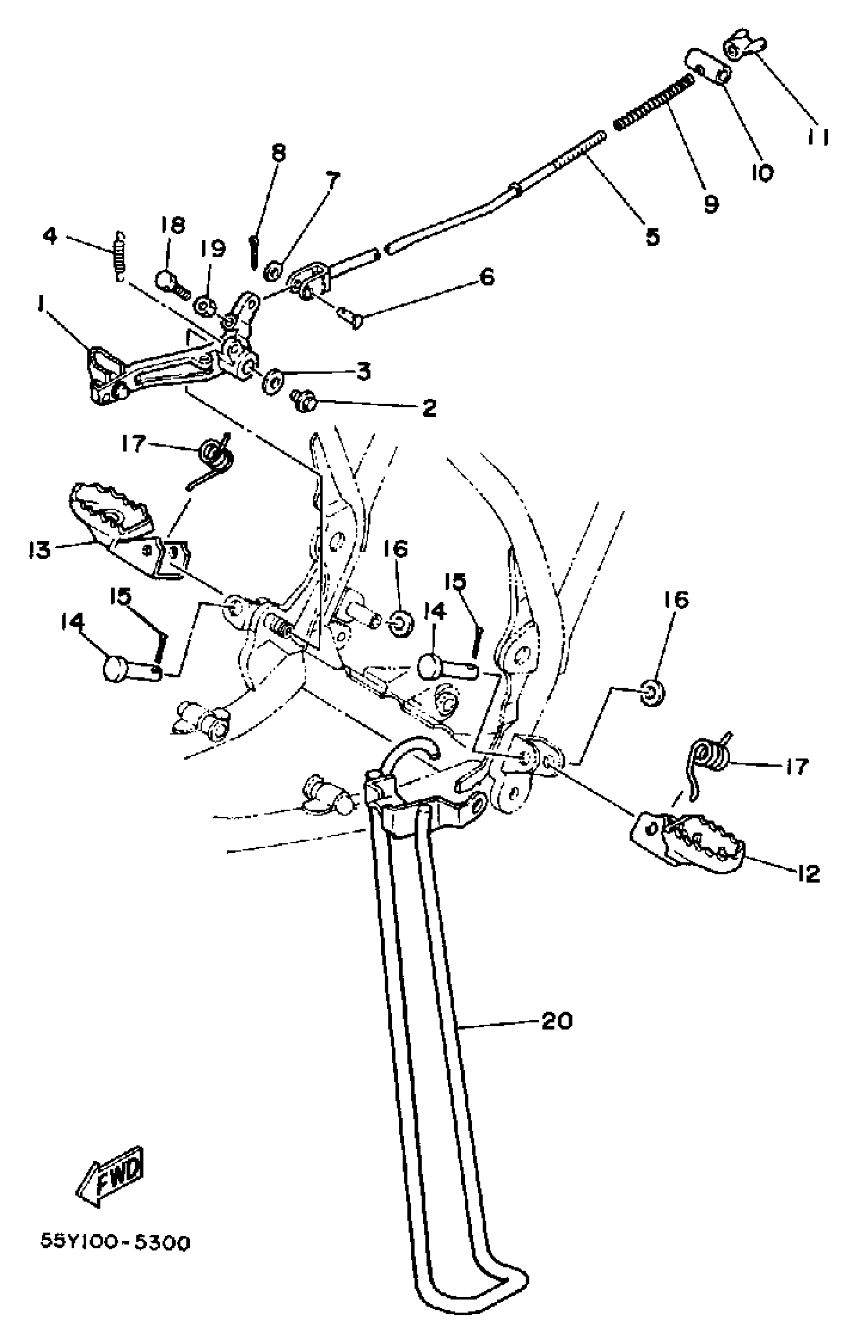
Yamaha YZ125N (YZ125N) 1985 STAND - FOOTREST Diagram
#
Description
Price
1
PEDAL, BRAKE
55Y-27200-00-00
Unavailable
4
SPRING, TENSION
90506-18373-00
Unavailable
5
ROD, BRAKE
39W-27231-00-00
Unavailable
12
FOOTREST 1
23X-27411-03-00
Unavailable
13
FOOTREST 2
23X-27421-04-00
Unavailable
16
WASHER, PLAIN(735)
90201-10119-00
Unavailable
17
SPRING, TORSION (23X)
90508-20583-00
Unavailable
18
BOLT (3Y2)
90101-06478-00
Unavailable
19
NUT(650)
95380-06700-00
Unavailable
20
STAND, SIDE
39W-27311-00-00
Unavailable
24
PIN, CLEVIS (23X)
90240-10101-00
Unavailable
