- Partiron
- OEM Parts
- Yamaha
- motorcycle
- 1983
- YZ125K (YZ125K_L) 1983
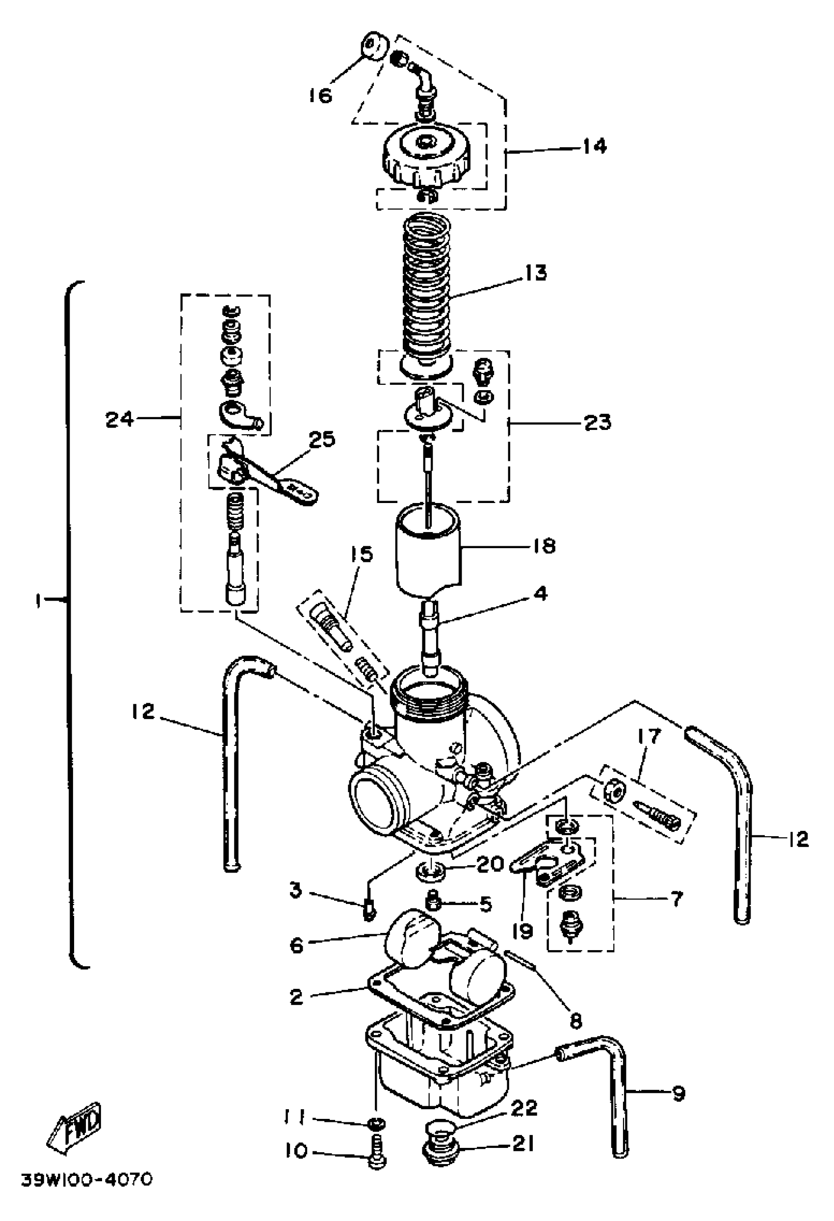
CARBURETOR K
Yamaha YZ125K (YZ125K_L) 1983 CARBURETOR K Diagram
#
Description
Price
1
CARBURETOR ASSEMBLY 1
24X-14101-00-00
Unavailable
2
THROTTLE SCREW SET
40T-14103-00-00
Unavailable
3
. NEEDLE SET
24X-1490J-00-00
Unavailable
4
JET, MAIN #280
137-14143-56-A0
Unavailable
4
JET, MAIN #290
137-14143-58-A1
Unavailable
5
. NOZZLE, MAIN
239-14141-52-00
Unavailable
6
. PLATE
483-14146-00-00
Unavailable
7
. FLOAT
310-14185-00-00
Unavailable
8
SCREW, PAN HEAD(6B0)
97885-05016-00
Unavailable
12
. CBLE AJST SCRW SETSCREW SET
24X-14106-00-00
Unavailable
13
. STARTER SET
24X-1410A-00-00
Unavailable
14
HOSE
89A-14987-00-00
Unavailable
15
. PLATE
313-14146-00-00
Unavailable
16
. SPRING, THROTTLE VALVE
431-14131-00-00
Unavailable
17
. VALVE, THROTTLE 1
5X8-14112-25-00
Unavailable
18
GASKET, FLOAT CHAMBER
483-14184-00-00
Unavailable
19
. JET, PILOT #60
193-14142-60-00
Unavailable
20
O-RING
2K6-14147-00-00
Unavailable
21
. PLUG, SCREW
2K6-14115-00-00
Unavailable
22
. WASHER, MAIN JET
3R3-14153-00-00
Unavailable
23
. ARM, FLOAT
310-14187-00-00
Unavailable
24
NEEDLE VALVE SET
24X-14107-33-00
Unavailable
25
PIN, FLOAT
537-14186-00-00
Unavailable
