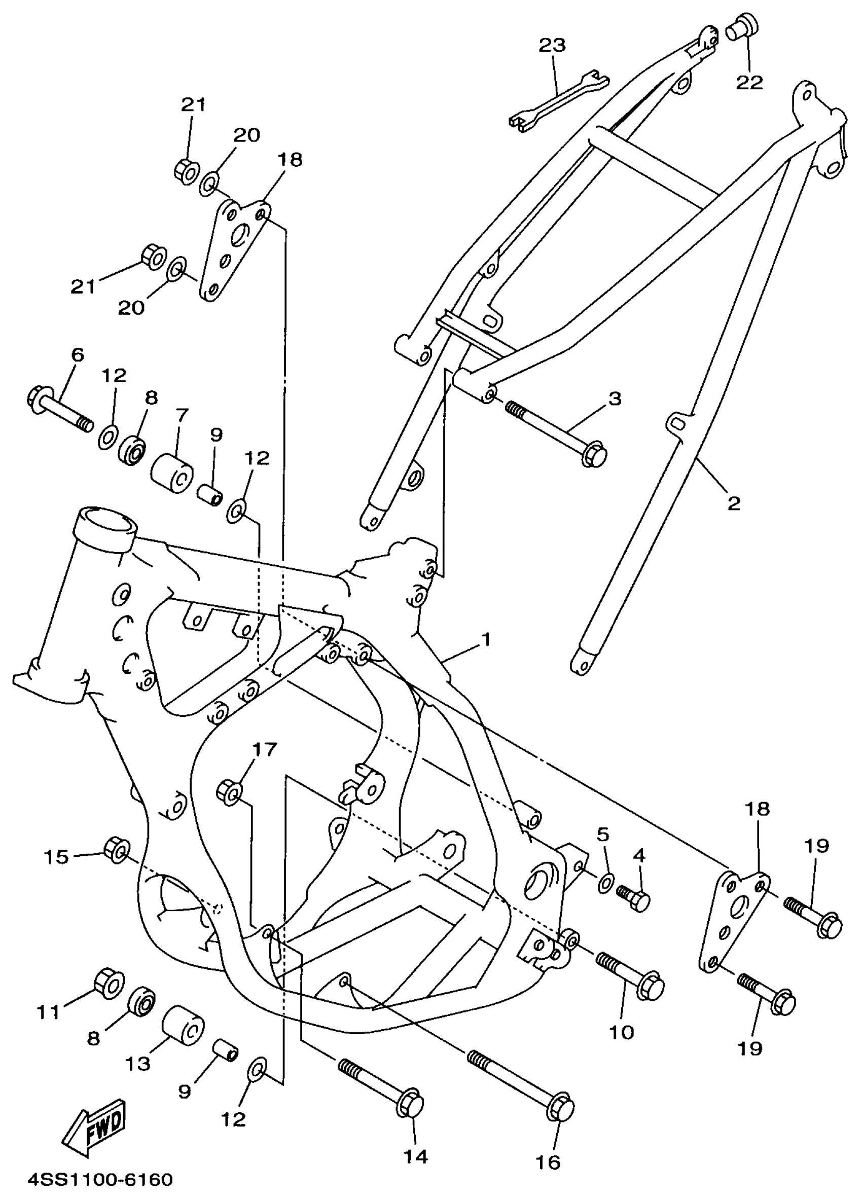
Yamaha YZ125J1 (YZ125) 4XM2 1997 FRAME Diagram
#
Description
Price
1
FRONT FRAME COMP.
4XM-21101-00-2F
Unavailable
2
FRAME,REAR
4XM-21190-00-2F
Unavailable
2
FRAME,REAR
4XM-21190-00-2F
Unavailable
4
BOLT(4EW)
90106-08051-00
Unavailable
7
TENSIONER
4EW-22178-01-00
Unavailable
15
NUT, SELF-LOCKING(JN5)
95607-10200-00
Unavailable
16
BOLT, WASHER BASED(3RB)
90105-10733-00
Unavailable
17
NUT, SELF-LOCKING(JN5)
95607-10200-00
Unavailable
18
BRACKET, REAR UPPER 1
4SS-21425-00-00
Unavailable
19
BOLT, FLANGE
95817-08050-00
Unavailable
20
WASHER, PLATE (12X)
90201-087F0-00
Unavailable
21
NUT, SELF-LOCKING
90185-08169-00
Unavailable
22
PLUG(55K)
90338-16148-00
Unavailable
23
WRENCH, HEXAGON
56A-28166-00-00
Unavailable
