- Partiron
- OEM Parts
- Yamaha
- motorcycle
- 1982
- YZ125J (YZ125J) 1982
CARBURETOR
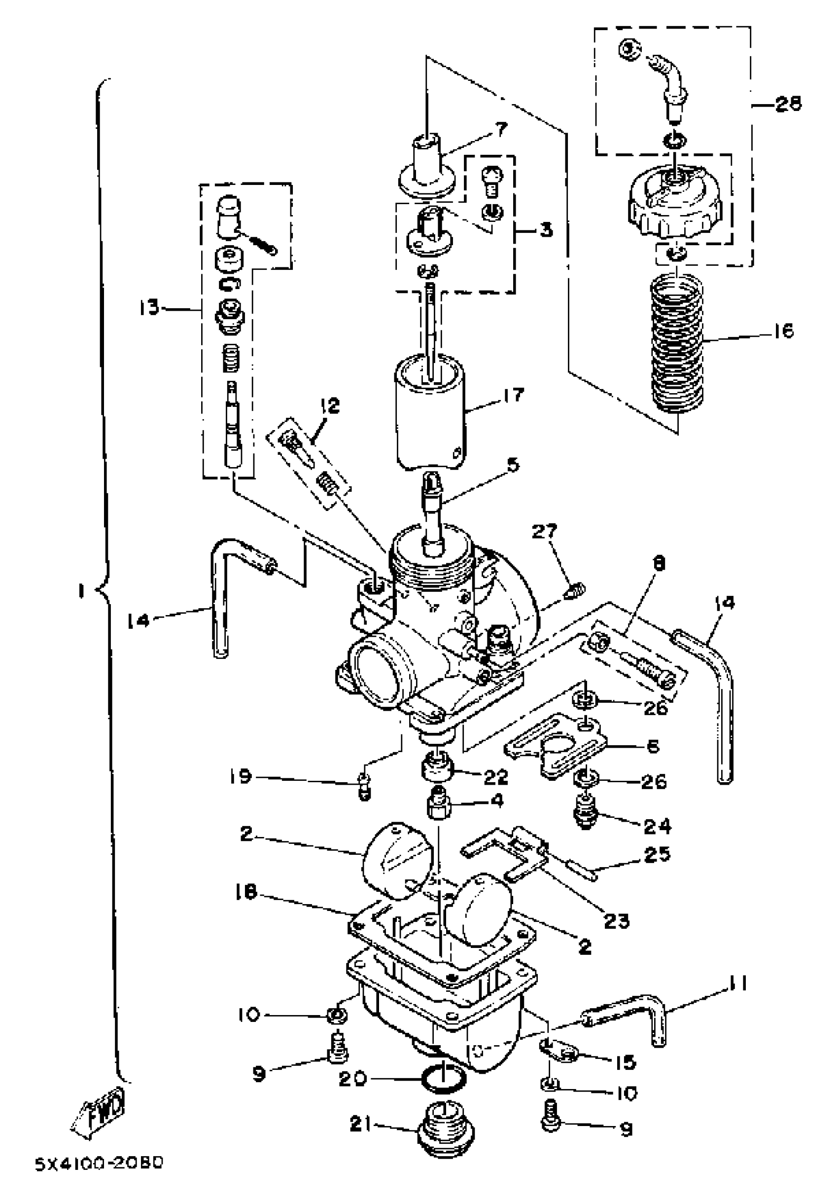
Yamaha YZ125J (YZ125J) 1982 CARBURETOR Diagram
#
Description
Price
1
CARBURETOR ASSEMBLY 1
5X4-14101-00-00
Unavailable
2
. FLOAT
310-14185-00-00
Unavailable
3
. NEEDLE SET (6F21)
239-W1418-00-00
Unavailable
4
JET, MAIN #260
137-14143-52-00
Unavailable
4
JET, MAIN #280
137-14143-56-A0
Unavailable
5
. NOZZLE, MAIN Q-0
239-14141-50-00
Unavailable
6
. PLATE
483-14146-00-00
Unavailable
7
. SEAT, SPRING
509-14136-00-00
Unavailable
8
. THROTTLE SCREW SET
204-W1411-00-00
Unavailable
9
SCREW, PAN HEAD(6B0)
97885-05016-00
Unavailable
13
. STARTER PLNGR SET
737-W1414-00-00
Unavailable
14
HOSE
89A-14987-00-00
Unavailable
15
. PLATE
313-14146-00-00
Unavailable
16
. SPRING, THROTTLE VALVE
363-14131-00-00
Unavailable
17
. VALVE, THROTTLE 1
3R6-14112-25-00
Unavailable
18
GASKET, FLOAT CHAMBER
483-14184-00-00
Unavailable
19
JET, PILOT (# 80)
193-14142-80-00
Unavailable
20
O-RING
2K6-14147-00-00
Unavailable
21
. PLUG, SCREW
2K6-14115-00-00
Unavailable
22
. WASHER, MAIN JET
3R3-14153-00-00
Unavailable
23
. ARM, FLOAT
310-14187-00-00
Unavailable
24
NEEDLE VALVE SET
24X-14107-33-00
Unavailable
25
PIN, FLOAT
537-14186-00-00
Unavailable
26
WASHER,VALVE SEAT
239-14195-00-00
Unavailable
27
JET, AIR (#2.0)
239-14172-20-00
Unavailable
28
. ADJUSTER SET
3R3-W1415-00-00
Unavailable
