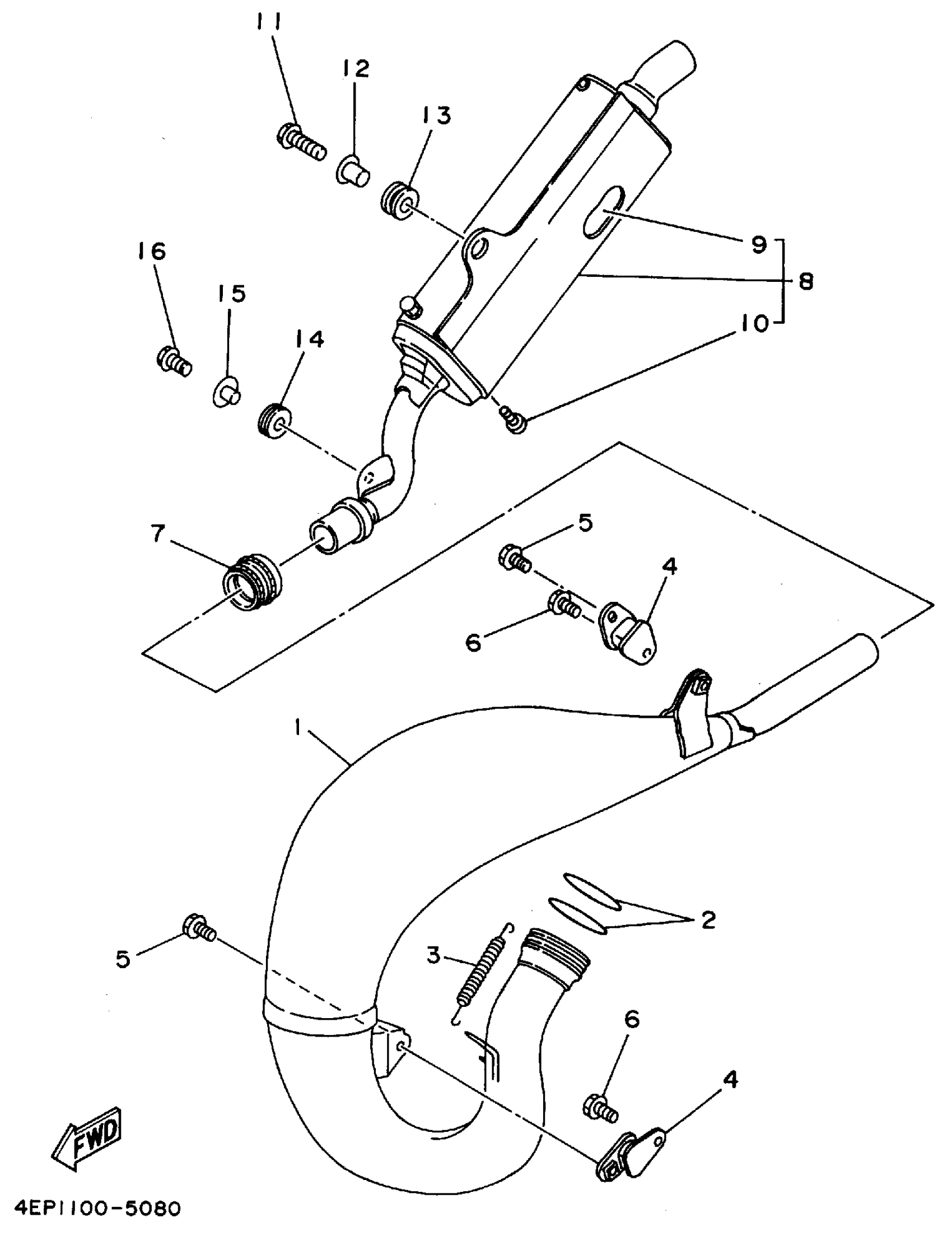
Yamaha YZ125G1 (YZ125) 1995 EXHAUST Diagram
#
Description
Price
1
EXHAUST PIPE ASSEMBLY 1
4PE-14610-00-00
Unavailable
8
SILENCER, EXHAUST
4JY-14753-01-00
Unavailable
9
FIBER
4JY-1469A-02-00
Unavailable
15
COLLAR
90387-107R6-00
Unavailable
16
BOLT, WASHER BASED(JA9)
90105-06696-00
Unavailable
