Partiron

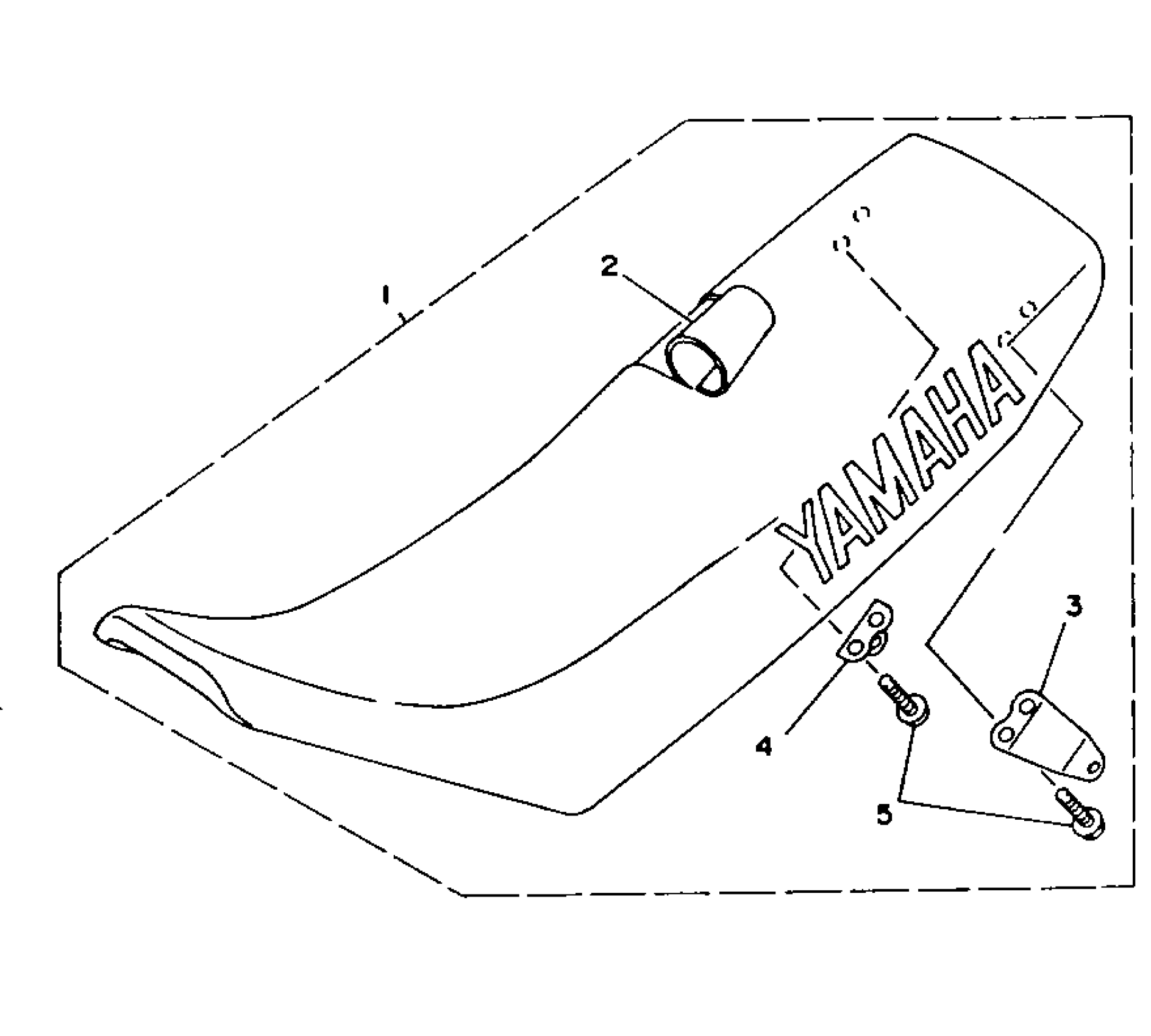
Yamaha YZ125E1 (YZ125E1) 1993 SEAT Diagram

#

Description
Price

1

SEMI-DOUBLE SEAT ASSEMBLY

4EW-24770-10-00

Unavailable

2

. COVER, SEAT

4EW-24731-10-00

Unavailable

3

. BRACKET, SEAT

4EW-24728-00-00

Unavailable

4

. BRACKET, SEAT

4EW-24738-00-00

Unavailable

5

BOLT, FLANGE(2UJ)

95024-06016-00

$8.49