- Partiron
- OEM Parts
- Yamaha
- motorcycle
- 1978
- YZ125E (YZ125E_F_G) 1978
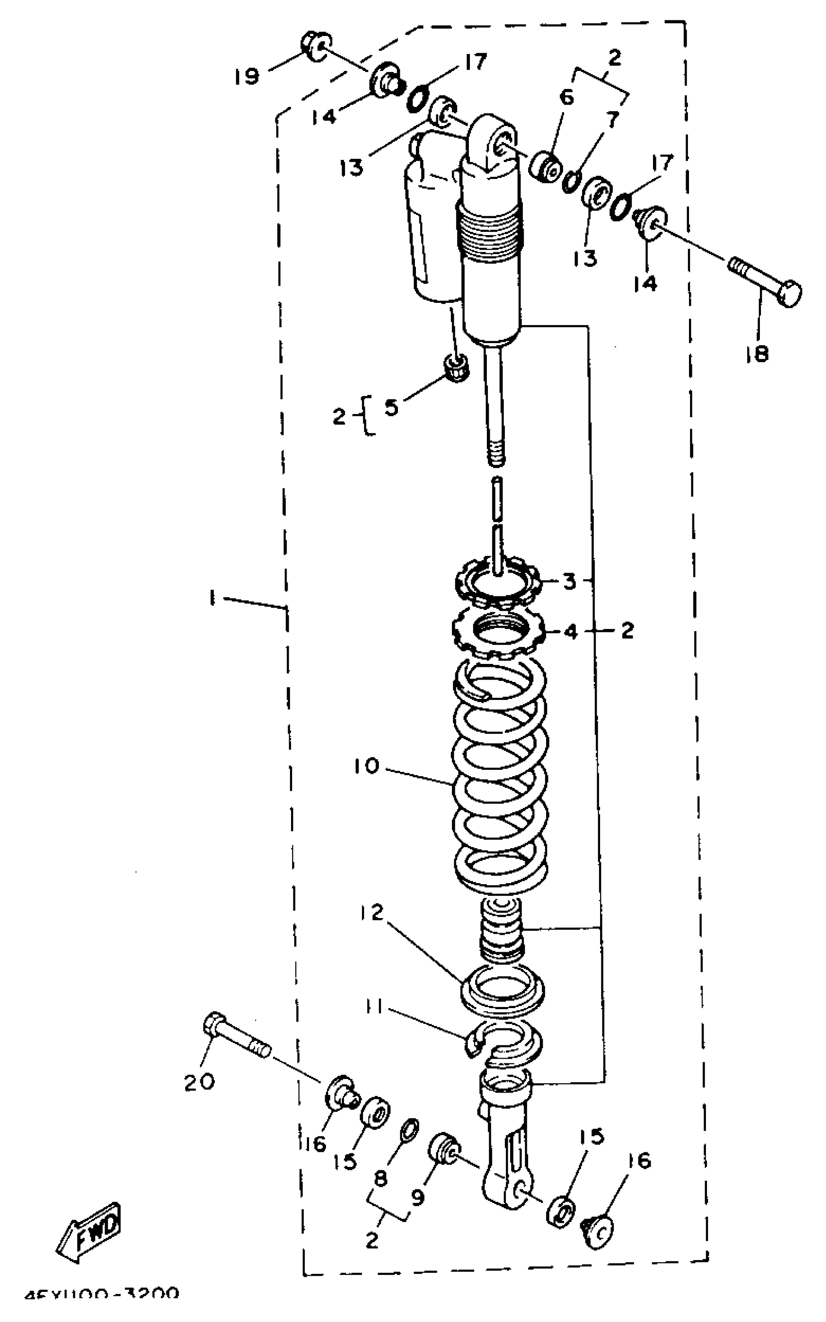
REAR SHOCKS
Yamaha YZ125E (YZ125E_F_G) 1978 REAR SHOCKS Diagram
#
Description
Price
1
SHK/ABS ASY,REAR
4EX-22210-30-00
Unavailable
2
DAMPER SUB ASY
4EW-22201-30-00
Unavailable
5
.. CAP, AIR VALVE
24M-23184-00-00
Unavailable
6
.. BUSH, REAR SHOCK ABSORBER
3JD-22216-00-00
Unavailable
7
.. RING, STOP
43M-22274-00-00
Unavailable
8
.. CIRCLIP
3Y6-23183-00-00
Unavailable
10
SPRING (K=4.8)
3XJ-22212-11-00
Unavailable
12
. GUIDE, SPRING 2
3JD-22224-00-00
Unavailable
14
. COLLAR, DISTANCE
3XJ-22253-00-00
Unavailable
16
. COLLAR, DISTANCE
4EW-22253-00-00
Unavailable
17
SEAL, RING
4EW-22474-00-00
Unavailable
18
BOLT 1
3SP-22241-00-00
Unavailable
19
NUT, SELF-LOCKING(JN5)
95607-10200-00
Unavailable
20
BOLT, WASHER BASED(3XJ)
90105-10614-00
Unavailable
