- Partiron
- OEM Parts
- Yamaha
- motorcycle
- 1975
- YZ125B (YZ125B) 1975
REAR SHOCKS
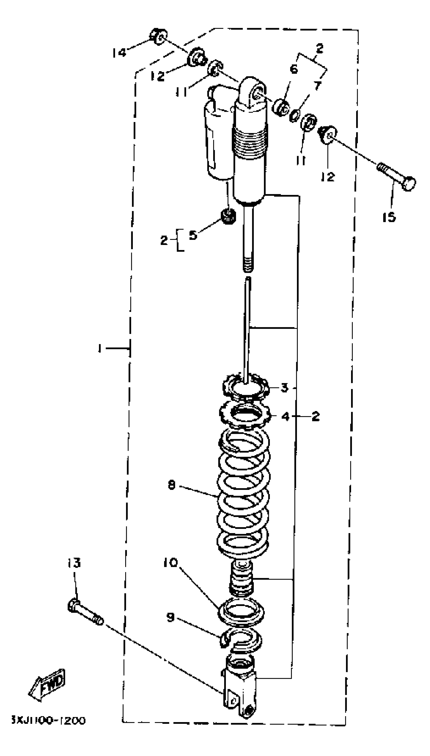
Yamaha YZ125B (YZ125B) 1975 REAR SHOCKS Diagram
#
Description
Price
1
SHK/ABS ASSEMBLY, REARREAR
3XJ-22210-00-00
Unavailable
2
DAMPER.SUB-ASY
3XK-22201-10-00
Unavailable
5
.. CAP, AIR VALVE
24M-23184-00-00
Unavailable
6
.. BUSH, REAR SHOCK ABSORBER
3JD-22216-00-00
Unavailable
7
.. RING, STOP
43M-22274-00-00
Unavailable
8
. SPRING K=460
3XJ-22212-70-00
Unavailable
10
. GUIDE, SPRING 2
3JD-22224-00-00
Unavailable
12
. COLLAR, DISTANCE
3XJ-22253-00-00
Unavailable
15
BOLT 1
3SP-22241-00-00
Unavailable
