Partiron

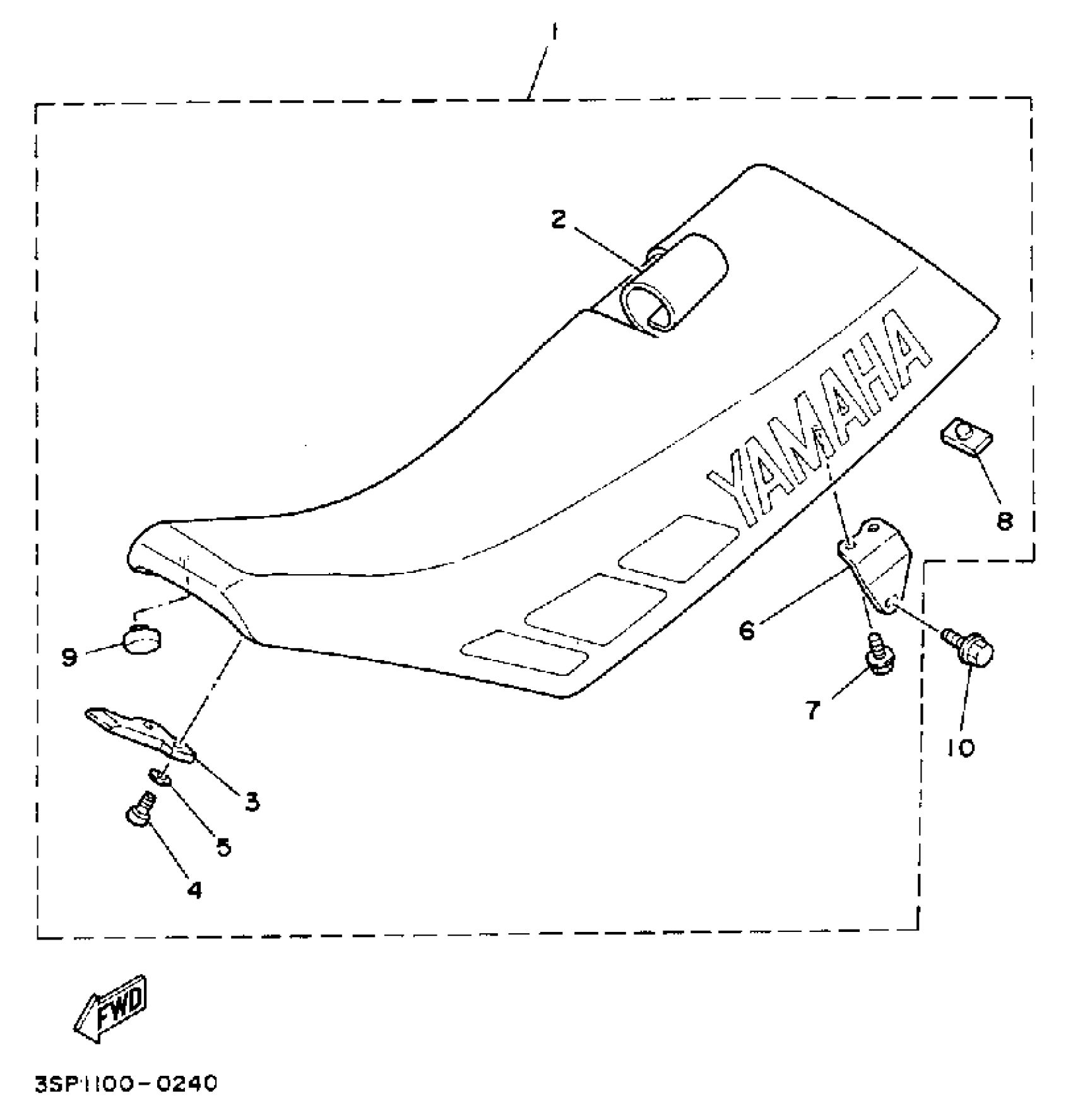
Yamaha YZ125A (YZ125A) 1974 SEAT Diagram

#

Description
Price

1

SEMI-DBL SEAT ASY

3JD-24770-00-00

Unavailable

2

. COVER, SEAT

3JD-24731-10-00

Unavailable

3

. BRACKET, SEAT

5X6-24748-10-00

Unavailable

4

SCREW, PAN HEAD(62J)

97885-06012-00

Unavailable

5

YBS66-6 WASHER, PLAIN

92990-06200-00

$3.78

6

. BRACKET, SEAT

1LX-24738-01-00

Unavailable

7

BOLT, FLANGE(2UJ)

95024-06012-00

$4.41

8

DAMPER, SEAT

509-24724-00-00

$10.99

9

. PAD, SEAT

107-24741-00-00

Unavailable

10

BOLT, FLANGE (3JPE)

95024-08016-00

$9.49