- Partiron
- OEM Parts
- Yamaha
- motorcycle
- 1980
- YZ100G (YZ100G) 1980
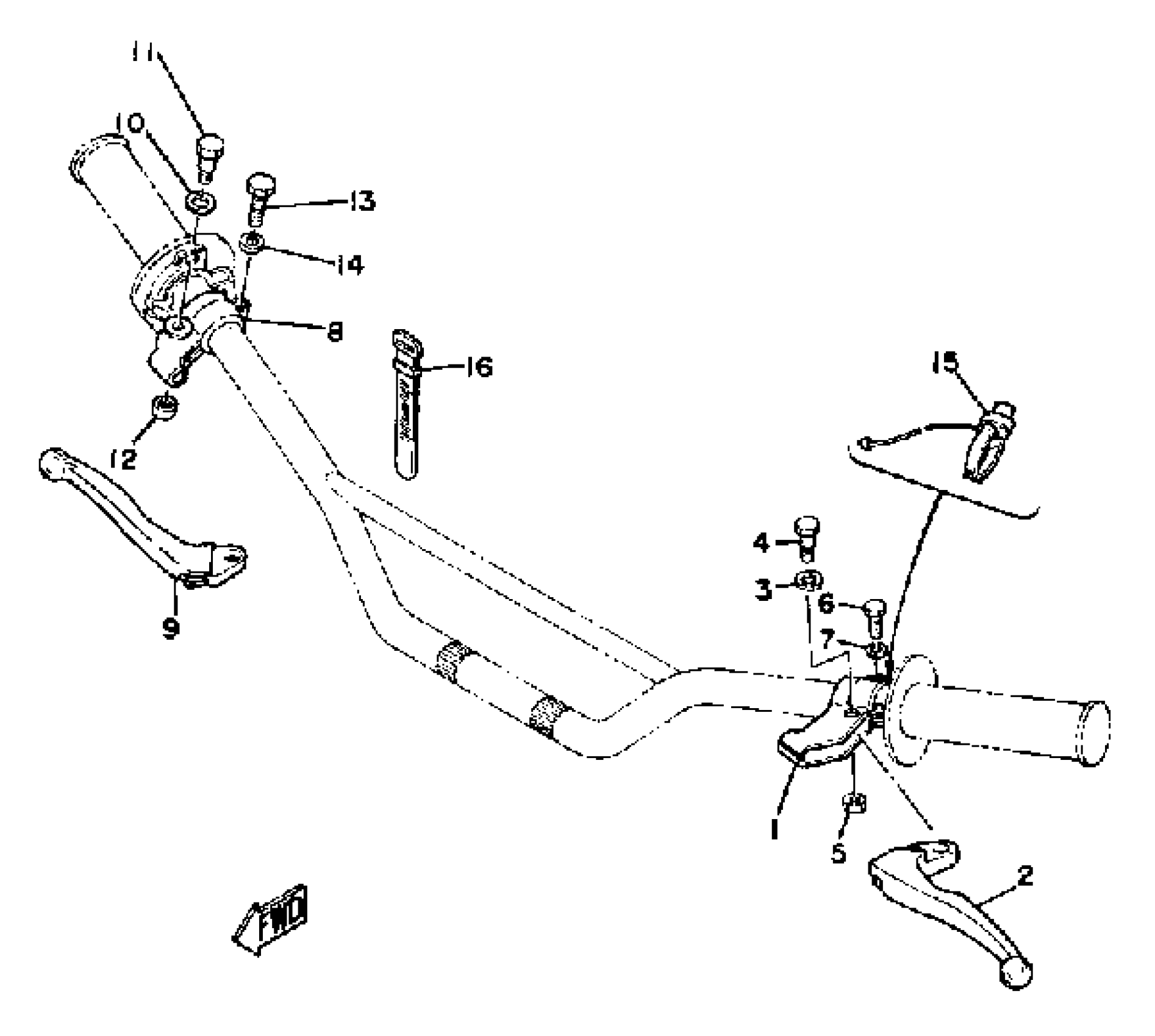
HANDLE SWITCH-LEVER
Yamaha YZ100G (YZ100G) 1980 HANDLE SWITCH-LEVER Diagram
#
Description
Price
7
WASHER, SPRING
92995-06100-00
Unavailable
8
HOLDER, LEVER 2
516-82921-30-00
Unavailable
14
WASHER, SPRING
92995-06100-00
Unavailable
15
SWITCH, HANDLE 1
23X-83976-01-00
Unavailable
16
BAND, SWITCH CORD
437-83936-01-00
Unavailable
