Partiron

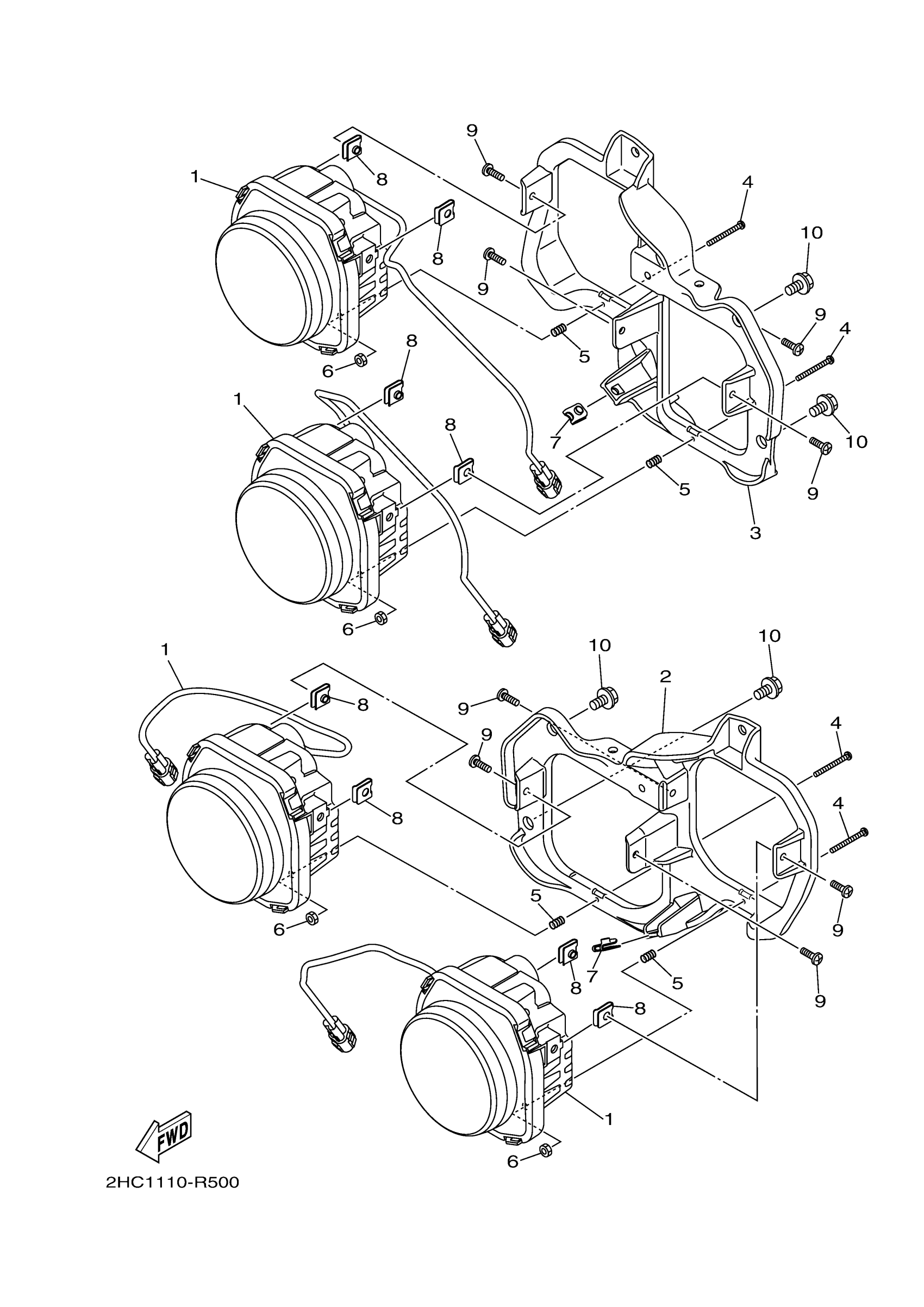
Yamaha YXZ10YPXGO (YXZ1000 EPS) 2HC41 2016 HEADLIGHT Diagram

#

Description
Price

1

HEADLIGHT ASSY

2UD-84300-00-00

$328.99

2

STAY, HEAD LIGHT 1

2HC-F831V-00-00

$47.99

3

STAY, HEAD LIGHT 2

2HC-F832V-00-00

$47.99

4

SCREW, PAN HEAD

98502-03530-00

$4.29

5

SPRING, COMPRESSION (4G0)

90501-08614-00

$1.96

6

NUT, ADJUSTING

2GU-84334-00-00

$7.99

7

NUT, SPRING

90183-060A6-00

$5.49

8

NUT, SPRING

90183-05008-00

$9.49

9

SCREW, BIND (8K2)

98902-05016-00

$1.71

10

BOLT, FLANGE(JN5)

95817-08016-00

$5.49