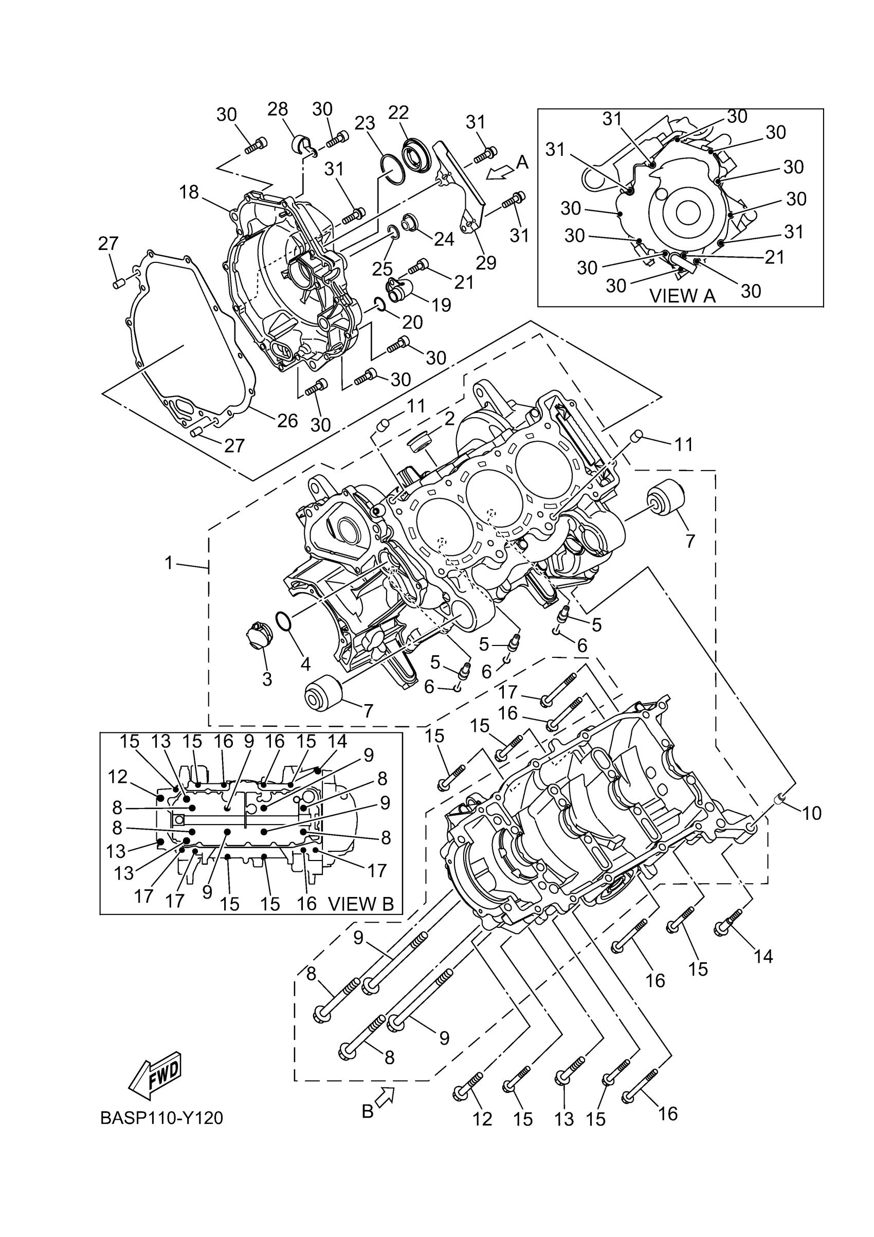
Yamaha YXZ10YMXPL (YXZ1000R) B5JE 2023 CRANKCASE Diagram
#
Description
Price
5
. NOZZLE 3
4XV-15155-00-00
Unavailable
16
BOLT, FLANGE
95812-06080-00
Unavailable
17
BOLT, FLANGE
95817-06080-00
Unavailable
18
COVER, CRANKCASE 2
B5H-15421-00-00
Unavailable
19
CONNECTOR, SUCTION PIPE
2HC-13115-00-00
Unavailable
20
O-RING
93210-14003-00
Unavailable
21
BOLT (33M)
91312-06014-00
Unavailable
22
PLUG, STRAIGHT SCREW
90340-36004-00
Unavailable
23
O-RING
93210-35804-00
Unavailable
24
PLUG, STRAIGHT SCREW
90340-14016-00
Unavailable
25
O-RING (2H9)
93210-14369-00
Unavailable
26
GASKET, CRANKCASE
2HC-15461-00-00
Unavailable
27
PIN, DOWEL
99530-08012-00
Unavailable
28
CLAMP(4AJ)
90462-08225-00
Unavailable
29
PLATE
B5H-15191-00-00
Unavailable
30
BOLT,SOCKET
91317-06025-00
Unavailable
31
BOLT, HEXAGON SOCKET HEAD
90110-06387-00
Unavailable
