- Partiron
- OEM Parts
- Yamaha
- side-by-side
- 2020
- YXZ10YMSLL (YXZ1000R EPS SPECIAL EDITION) B5J5 2020
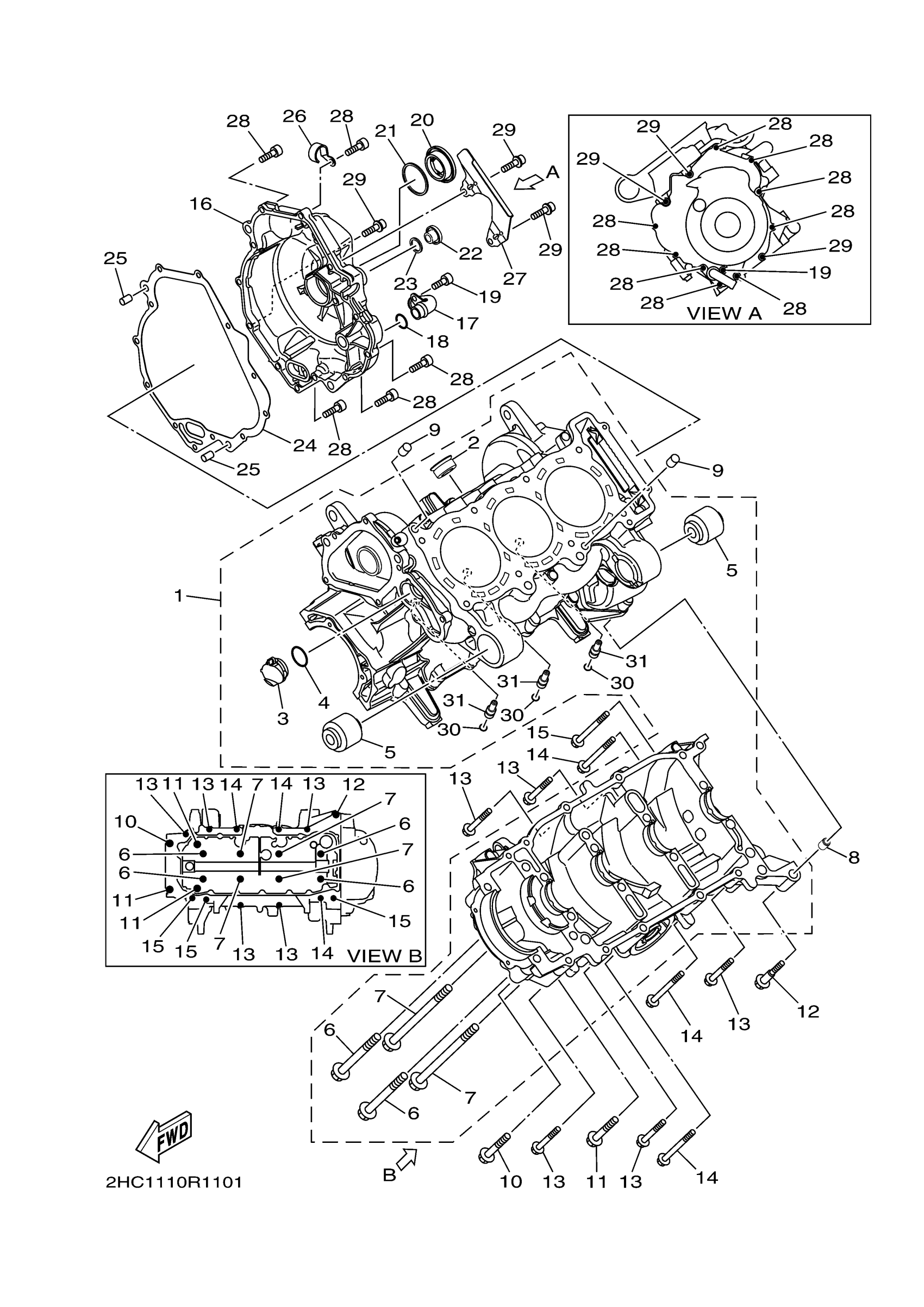
CRANKCASE
Yamaha YXZ10YMSLL (YXZ1000R EPS SPECIAL EDITION) B5J5 2020 CRANKCASE Diagram
#
Description
Price
16
COVER, CRANKCASE 2
B5H-15421-00-00
Unavailable
17
CONNECTOR, SUCTION PIPE
2HC-13115-00-00
Unavailable
18
O-RING
93210-14003-00
Unavailable
19
BOLT (33M)
91312-06014-00
Unavailable
20
PLUG, STRAIGHT SCREW
90340-36004-00
Unavailable
21
O-RING
93210-35804-00
Unavailable
22
PLUG, STRAIGHT SCREW
90340-14016-00
Unavailable
23
O-RING (2H9)
93210-14369-00
Unavailable
24
GASKET, CRANKCASE
2HC-15461-00-00
Unavailable
25
PIN, DOWEL
99530-08012-00
Unavailable
26
CLAMP(4AJ)
90462-08225-00
Unavailable
27
PLATE
B5H-15191-00-00
Unavailable
28
BOLT,SOCKET
91317-06025-00
Unavailable
29
BOLT, HEXAGON SOCKET HEAD
90110-06387-00
Unavailable
30
O-RING (210)
93210-04092-00
Unavailable
31
. NOZZLE 3
4XV-15155-00-00
Unavailable
