- Partiron
- OEM Parts
- Yamaha
- side-by-side
- 2019
- YXZ10YMSKL (YXZ1000R EPS SE) B5J1 2019
FRONT BRAKE CALIPER
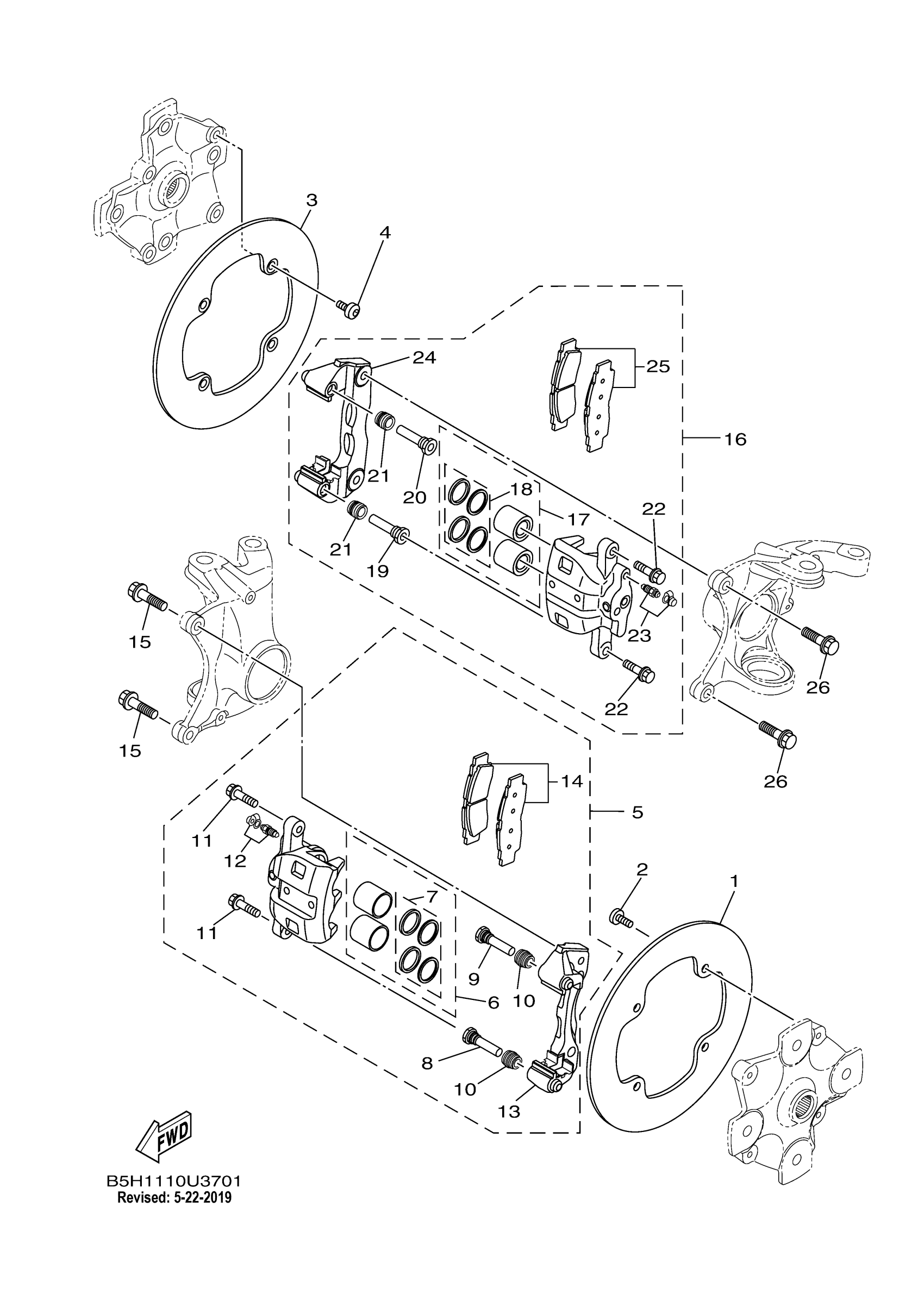
Yamaha YXZ10YMSKL (YXZ1000R EPS SE) B5J1 2019 FRONT BRAKE CALIPER Diagram
#
Description
Price
6
PISTON ASSY, CALIPER
B5H-25802-00-00
Unavailable
7
CALIPER SEAL KIT
B5H-25803-00-00
Unavailable
8
BOLT
2HC-25926-00-00
Unavailable
9
BOLT
2HC-25926-10-00
Unavailable
16
CALIPER ASSY (RIGH
B5H-2580U-01-00
Unavailable
17
PISTON ASSY, CALIPER
B5H-25802-00-00
Unavailable
18
CALIPER SEAL KIT
B5H-25803-00-00
Unavailable
19
BOLT
2HC-25926-00-00
Unavailable
20
BOLT
2HC-25926-10-00
Unavailable
