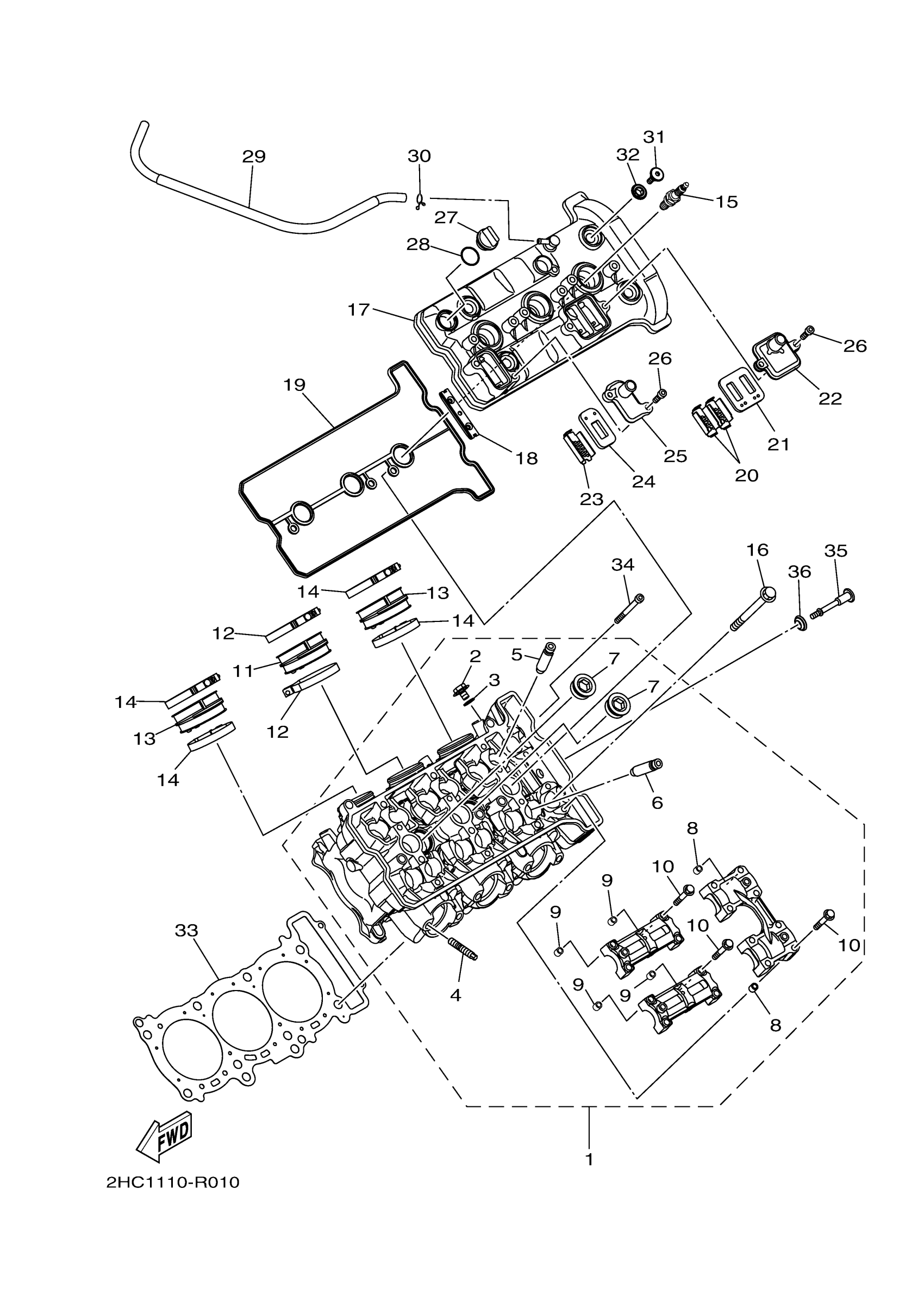
Yamaha YXZ10YEZNB (YXZ1000R SS XTR) BASK 2022 CYLINDER Diagram
#
Description
Price
15
CR9EB NGK SPLUG 4PK
CR9-EB000-00-00
Unavailable
16
BOLT, WITH WASHER
90119-10004-00
Unavailable
17
COVER, CYLINDER HEAD 1
2HC-11191-00-00
Unavailable
18
GUIDE, STOPPER 2
5BE-12241-01-00
Unavailable
19
GASKET, HEAD COVER
2HC-11193-00-00
Unavailable
20
PLATE
5VY-1482K-00-00
Unavailable
21
REED VALVE ASSY
5SL-14890-00-00
Unavailable
22
CAP, CASE
5VY-14899-01-00
Unavailable
23
PLATE
5JW-1482K-01-00
Unavailable
24
REED VALVE ASS
5JW-14890-00-00
Unavailable
25
CAP, CASE
2HC-14889-00-00
Unavailable
26
BOLT,SOCKET HEAD
91314-06020-00
Unavailable
27
PLUG, OIL
3Y1-15363-10-00
Unavailable
28
O-RING (646)
93210-19123-00
Unavailable
29
PIPE, BREATHER 1
2HC-11166-00-00
Unavailable
30
CLIP
90467-100A1-00
Unavailable
31
BOLT(4BP)
90109-066F0-00
Unavailable
32
RUBBER, MOUNT 1
5VY-1111G-00-00
Unavailable
33
GASKET, CYLINDER HEAD 1
2HC-11181-00-00
Unavailable
34
BOLT, SOCKET
91317-06065-00
Unavailable
35
BOLT
90109-06293-00
Unavailable
36
RUBBER, MOUNT 1
5VY-1111G-00-00
Unavailable
