- Partiron
- OEM Parts
- Yamaha
- side-by-side
- 2019
- YXZ10YESKW (YXZ1000R EPS SS SE) B5H4 2019
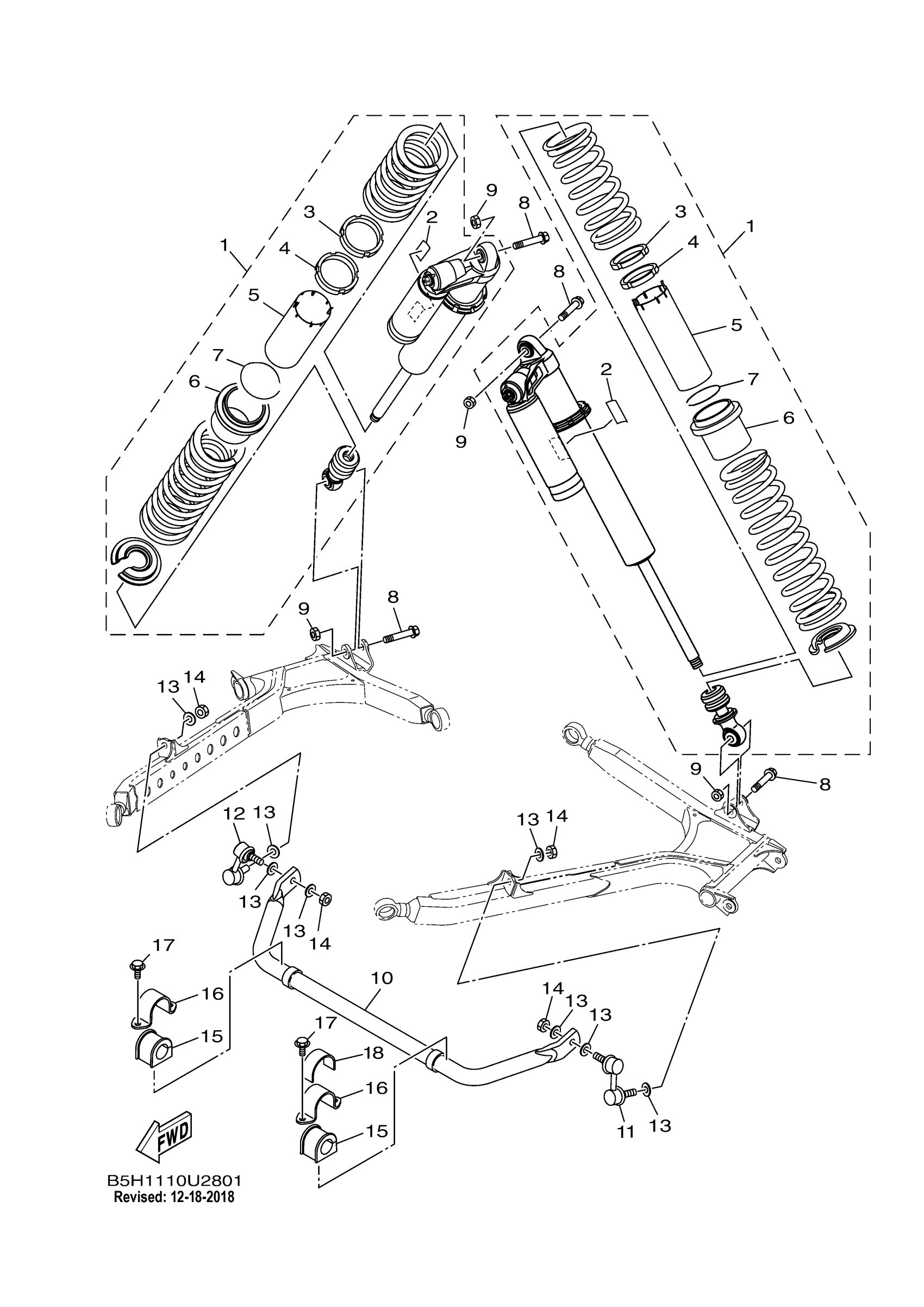
REAR SUSPENSION
Yamaha YXZ10YESKW (YXZ1000R EPS SS SE) B5H4 2019 REAR SUSPENSION Diagram
#
Description
Price
1
RR. SHOCK ABSORBER
B5H-F220T-00-00
Unavailable
3
RING, HOLD 2
2HC-F2981-00-00
Unavailable
4
RING, HOLD
2HC-F2973-00-00
Unavailable
10
BAR, STABILIZER
2HC-G7491-21-00
Unavailable
16
COVER, STABILIZER
2HC-F386H-00-00
Unavailable
17
BOLT, FLANGE
95817-10020-00
Unavailable
18
PLATE, DAMPER 1
2HC-23421-00-00
Unavailable
