- Partiron
- OEM Parts
- Yamaha
- side-by-side
- 2019
- YXZ10YESKW (YXZ1000R EPS SS SE) B5H4 2019
MASTER CYLINDER
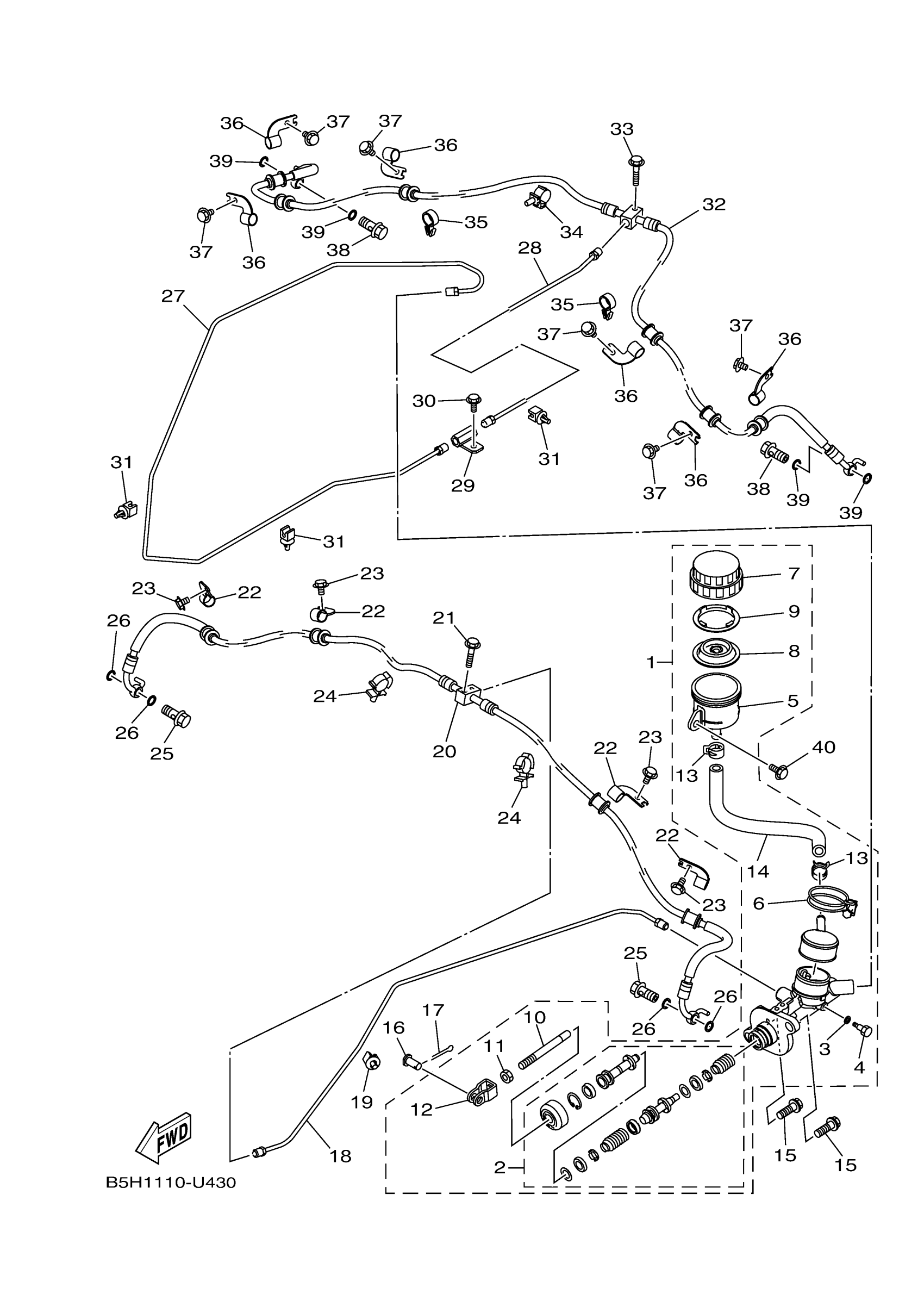
Yamaha YXZ10YESKW (YXZ1000R EPS SS SE) B5H4 2019 MASTER CYLINDER Diagram
#
1
MASTER CYLINDER ASSY
B5H-2583T-00-00
Unavailable
2
CYLINDER KIT, MASTER
B5H-25808-00-00
Unavailable
3
WASHER, OIL BOLT
5UG-25878-00-00
Unavailable
5
TANK, RESERVOIR
2HC-25894-00-00
Unavailable
10
PUSH ROD COMP.
5UG-25880-00-00
Unavailable
14
HOSE
2HC-2589E-00-00
Unavailable
16
PIN, CLEVIS
90240-08005-00
Unavailable
17
PIN, COTTER
91490-20025-00
Unavailable
18
PIPE, BRAKE 2
2HC-F5882-01-00
Unavailable
19
CLAMP 1
2HC-81677-00-00
Unavailable
20
HOSE, BRAKE 1
B5H-F5872-12-00
Unavailable
21
BOLT, FLANGE
90105-06833-00
Unavailable
22
HOLDER, BRAKE HOSE 2
3B4-25876-10-00
Unavailable
23
BOLT, FLANGE
95812-06010-00
Unavailable
24
CLAMP
90464-18011-00
Unavailable
25
BOLT, UNION
90401-10015-00
Unavailable
26
WASHER, PLATE(481)
90201-10118-00
Unavailable
27
PIPE, BRAKE
2HC-F5871-02-00
Unavailable
28
PIPE,BRAKE 3
2HC-F5883-10-00
Unavailable
29
JOINT
JX2-25885-11-00
Unavailable
30
BOLT, FLANGE
90105-06831-00
Unavailable
31
CLAMP 1
2HC-81677-00-00
Unavailable
32
HOSE, BRAKE 2
B5H-F5873-12-00
Unavailable
33
BOLT, FLANGE
90105-06833-00
Unavailable
34
CLAMP
90464-16012-00
Unavailable
35
CLAMP
90464-19815-00
Unavailable
36
HOLDER, BRAKE HOSE 2
3B4-25876-10-00
Unavailable
37
BOLT, FLANGE
95812-06010-00
Unavailable
38
BOLT, UNION
90401-10015-00
Unavailable
39
WASHER, PLATE(481)
90201-10118-00
Unavailable
40
BOLT, WITH WASHER
90119-06137-00
Unavailable
