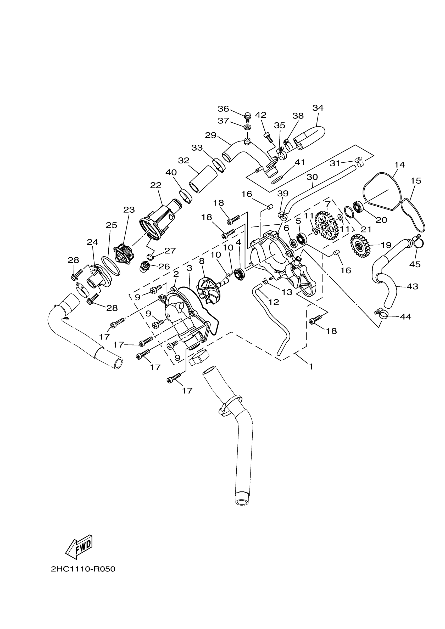
Yamaha YXZ10YESHB (YXZ1000R EPS SS SE) B575 2017 WATER PUMP Diagram
#
2
. COVER, HOUSING
2HC-12422-00-00
Unavailable
7
GEAR, IMPELLER SHAFT
8ES-12459-01-00
Unavailable
9
SCREW, PAN HEAD
98580-06016-00
Unavailable
16
PIN, DOWEL
99530-08012-00
Unavailable
17
TORNILLO ALLEN
91312-06040-00
Unavailable
18
BOLT,SOCKET
91317-06025-00
Unavailable
19
GEAR, DRIVE
8ES-12436-00-00
Unavailable
21
CIRCLIP(2FL)
93420-26077-00
Unavailable
22
HOUSING, THERMOSTAT
2HC-12417-00-00
Unavailable
23
THERMOSTAT
5LP-12411-01-00
Unavailable
24
COVER, THERMOSTAT
4NX-12413-00-00
Unavailable
25
O-RING (620)
93210-49046-00
Unavailable
26
THERMOSENSOR ASSY
5YP-85790-00-00
Unavailable
27
WASHER, PLATE
90201-12790-00
Unavailable
28
BOLT, FLANGE
95022-06020-00
Unavailable
29
PIPE 2
B5H-12482-00-00
Unavailable
30
PIPE 5
8GL-12485-00-00
Unavailable
31
HOSE CLAMP ASSY(62T)
90450-14M05-00
Unavailable
32
HOSE 7
8FA-12551-00-00
Unavailable
33
HOSE CLAMP ASSY
90450-35001-00
Unavailable
34
HOSE 6
2HC-12589-01-00
Unavailable
35
HOSE CLAMP ASSY
90450-18M09-00
Unavailable
36
BOLT, FLANGE
95022-06012-00
Unavailable
37
GASKET 256113960000
90430-06014-00
Unavailable
38
HOSE CLAMP ASSY(64X)
90450-22M14-00
Unavailable
39
HOSE CLAMP ASSY(62T)
90450-14M05-00
Unavailable
40
HOSE CLAMP ASSY
90450-35001-00
Unavailable
41
O-RING
93210-235A1-00
Unavailable
42
BOLT, HEXAGON SOCKET HEAD
90110-06310-00
Unavailable
43
HOSE 5
2HC-12588-01-00
Unavailable
44
HOSE CLAMP ASSY
90450-18M09-00
Unavailable
45
HOSE CLAMP ASSY(64X)
90450-22M14-00
Unavailable
